
|
الرقم |
العنصر الاختياري |
الرمز |
نظرة عامة |
|---|---|---|---|
|
|
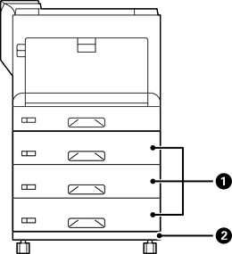
Paper Cassette Unit |
C12C934401 |
يسمح لك بتحميل ما يصل إلى 550 ورقة عادية (80 جم/م2). يمكنك تركيب ما يصل إلى 3 من وحدات درج الورق. |
|
|
Printer Stand |
C12C932091 |
بالعجلات. |

|
الرقم |
العنصر الاختياري |
الرمز |
نظرة عامة |
|---|---|---|---|
|
|
10/100/1000 Base-T, Ethernet |
C12C934471 |
تتوفر شبكتان من شبكات LAN اللاسلكية. تُعد سرعة الاتصال هي واجهة عالية السرعة تدعم 1 جيجابايت/ثانية. |
|
|
HDD |
C12C934441 |
يمكنك تركيب وحدة قرص صلب. استخدم وحدة القرص الصلب المحددة (رقم الطراز: C12C934441). لا يمكن ضمان التشغيل إذا تم توصيل وحدات أقراص صلبة أخرى. |