يمكنك تركيب مسند الطابعة في وحدة درج الورق أو في الطابعة مباشرة.
تشرح التعليمات أدناه كيفية التركيب في درج الورق على سبيل المثال. نوصي باستخدام مسند الطابعة في حالة تركيب وحدات درج الورق.

*: يمكنك إضافة ثلاثة من وحدات درج الورق.
ضع مسند الطابعة على سطح مستوٍ واقفل العجلات الأمامية.
أبقِ العجلات مقفلة لمنع تحرك الطابعة.

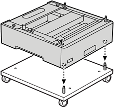
ركِّب دبوسين دليليين في مسند الطابعة.

ضع وحدة درج الورق الأدنى على مسند الطابعة. حاذِ بين كل فتحة في الجزء السفلي والدبابيس الدليلية.

فُك الغطاء الخلفي لوحدة درج الورق العلوية.

اسحب درج الورق العلوي للخارج.

ثبِّت وحدة درج الورق في مسند الطابعة باستخدام أربعة مسامير براغي.

أعد إدخال درج الورق في وحدة درج الورق.

أعد تركيب الغطاء الخلفي الذي تم فكه.

راجع "المعلومات ذات الصلة" عند تركيب الطابعة على وحدة درج الورق أو مسند الطابعة.