Можете да монтирате директно стойката за принтера върху касетното устройство за хартия или върху принтера.
Инструкциите по-долу описват монтирането върху касетно устройство за хартия като пример. Препоръчваме да използвате стойка за принтера, ако монтирате касетни устройства за хартия.

*: Можете да добавяте три касетни устройства за хартия.
Поставете стойката за принтера върху плоска повърхност и заключете предните колелца.
Дръжте колелцата заключени, за да предотвратите принтера от преместване.

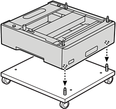
Монтирайте два водещи щифта върху стойка за принтера.

Настройте най-долното касетно устройство за хартия върху стойка за принтера. Изравнете всички отвори на дъното с водещи щифтове.

Отстранете задния капак на горното касетно устройство за хартия.

Извадете горната касета за хартия.

Закрепете касетното устройство за хартия към стойка за принтера с четири винта.

Поставете отново касетата за хартия в касетното устройство за хартия.

Монтирайте отново задния капак.

Вижте съответната информация при монтиране на принтер върху касетно устройство за хартия или стойка за принтера.