Podeu instal·lar el suport de la impressora directament sobre la unitat de calaix de paper o la impressora.
Les instruccions següents descriuen la instal·lació sobre la unitat de calaix de paper a mode d'exemple. Si instal·leu les unitats de calaixos de paper, us recomanem que utilitzeu el suport de la impressora.

*: podeu afegir tres unitats de calaixos de paper.
Col·loqueu el suport de la impressora sobre una superfície plana i bloquegeu les rodetes de la part frontal.
Mantingueu les rodetes bloquejades per evitar que la impressora es pugui moure.

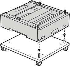
Instal·leu dos passadors de guia sobre el suport de la impressora.

Col·loqueu la unitat de calaix de paper inferior sobre el suport de la impressora. Alineeu els orificis de la part inferior amb els passadors de guia.

Traieu la tapa posterior de la unitat de calaix de paper superior.

Traieu el calaix de paper superior.

Fixeu la unitat de calaix de paper al suport de la impressora amb quatre cargols.

Torneu a introduir el calaix del paper a la unitat de calaix de paper.

Torneu a instal·lar la tapa posterior que heu tret.

Per instal·lar la impressora sobre la unitat de calaix de paper o el suport de la impressora, consulteu la Informació relacionada.