Sie können das Druckergestell entweder auf der Papierkassetteneinheit oder direkt auf dem Drucker installieren.
Die nachfolgenden Anweisungen betreffen die Installation auf der Papierkassetteneinheit. Wir empfehlen die Verwendung des Druckergestells, wenn Sie Papierkassetteneinheiten installieren.

*: Sie können drei Papierkassetteneinheiten hinzufügen.
Stellen Sie das Druckergestell auf eine ebene Fläche und arretieren Sie die vorderen Rollen.
Lassen Sie die Lenkrollen arretiert, damit der Drucker sich nicht bewegt.

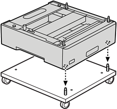
Installieren Sie zwei Führungsstifte am Druckergestell.

Setzen Sie die unterste Papierkassetteneinheit auf das Druckergestell. Richten Sie alle Löcher im Boden an den Führungsstiften aus.

Entfernen Sie die hintere Abdeckung der oberen Papierkassetteneinheit.

Ziehen Sie die obere Papierkassette heraus.

Befestigen Sie die Papierkassetteneinheit mit vier Schrauben am Druckergestell.

Setzen Sie die Papierkassette wieder in die Papierkassetteneinheit ein.

Befestigen Sie die ausgebaute hintere Abdeckung wieder.

Siehe die Verwandten Informationen, wenn Sie den Drucker auf der Papierkassetteneinheit oder auf dem Druckergestell aufbauen.