Puede instalar el soporte de la impresora en la unidad de cassette de papel o en la impresora directamente.
Las instrucciones siguientes describen la instalación en la unidad de cassette de papel como un ejemplo. Le recomendamos utilizar el soporte de la impresora si instala las unidades de bandeja del papel .

*: *: Puede agregar tres unidades de bandeja del papel.
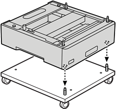
Coloque el soporte de la impresora en una superficie plana y bloquee las ruedas giratorias delanteras.
Mantenga las ruedas giratorias bloqueadas para evitar que la impresora se mueva.

Instale dos pasadores guía en el soporte de la impresora.

Coloque la unidad de cassette de papel más baja en el soporte de la impresora. Alinee cada uno de los orificios de la parte inferior con los pasadores guía.

Retire la cubierta posterior de la unidad de cassette de papel superior.

Extraiga el cassette de papel superior.

Fije la unidad de cassette de papel al soporte de la impresora con cuatro tornillos.

Vuelva a insertar el cassette de papel en la unidad de cassette de papel.

Vuelva a instalar la cubierta posterior retirada.

Consulte la sección Información relacionada cuando instale la impresora en la unidad de cassette de papel o en el soporte de la impresora.