Printeri aluse saab paigaldada paberikasseti üksuse või otse printeri külge.
Järgmistes juhistes kirjeldatakse näitena paigaldamist paberikasseti üksusele. Kui paigaldate paberikasseti üksused, soovitame kasutada printeri alust.

*: saate printerile lisada kolm paberikasseti üksust.
Asetage printeri alus tasasele pinnale ja lukustage esirattad.
Hoidke rattad lukustatuna, et printer ei liiguks.

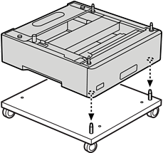
Paigaldage printeri alusesse kaks juhttihvti.

Asetage alumine paberikasseti üksus printeri alusele. Seadke põhjas olevad avad juhttihvtidega kohakuti.

Eemaldage ülemise paberikasseti üksuse tagumine kate.

Tõmmake ülemine paberikassett välja.

Kinnitage paberikasseti üksus nelja kruvi abil printeri aluse külge.

Sisestage paberikassett tagasi paberikasseti üksusse.

Paigaldage eemaldatud tagumine kate.

Kui paigaldate printeri paberikasseti üksusele või printeri alusele, lugege seotud teavet.