Vous pouvez installer le support de l’imprimante sur l'unité de cassette papier ou directement sur l'imprimante.
Les instructions ci-dessous décrivent l'installation sur l'unité de cassette papier à titre d'exemple. Nous vous recommandons d'utiliser le support de l’imprimante si vous installez des unités de cassette papier.

* : Vous pouvez ajouter jusqu'à trois unités de cassette papier.
Placez le support de l’imprimante sur une surface plane et verrouillez les roulettes avant.
Gardez les roulettes verrouillées pour éviter que l'imprimante ne bouge.

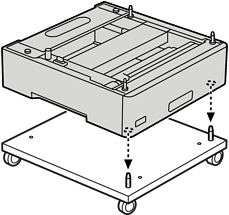
Installez deux goupilles de guidage sur le support de l’imprimante.

Placez l'unité de cassette papier la plus basse sur le support de l’imprimante. Alignez chacun des trous en bas avec les goupilles de guidage.

Retirez le capot arrière de l'unité de cassette papier supérieure.

Retirez l'unité de cassette papier supérieure.

Fixez l'unité de cassette papier sur le support de l’imprimante avec quatre vis.

Réinsérez le bac papier dans l'unité de cassette papier.

Réinstallez le capot arrière que vous avez retiré précédemment.

Vous pouvez installer le support de l’imprimante sur l'unité de cassette papier ou directement sur l'imprimante.