A nyomtatóállványt szerelheti a papírkazetta egységre vagy közvetlenül a nyomtatóra is.
Az alábbi utasítások példaként a papírkazetta egységre történő szerelést ismertetik. A papírkazetta egységek beszerelése esetén javasoljuk a nyomtatóállvány használatát.

*: Három papírkazetta egység adható hozzá.
Helyezze a nyomtatóállványt egy sima felületre, és rögzítse az első görgőket.
Tartsa zárolva a görgőket, hogy a nyomtató nehogy elmozdulhasson.

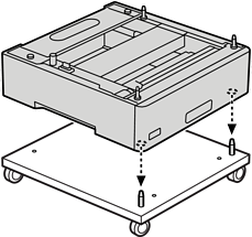
Szerelje fel a két vezetőcsapot a nyomtatóállványra.

Tegye a legalsó papírkazetta egységet a nyomtatóállványra. Igazítsa az alul lévő összes furatot a vezetőcsapokhoz.

Távolítsa el a felső papírkazetta egység hátsó burkolatát.

Húzza ki a felső papírkazettát.

Rögzítse a papírkazetta egységet négy csavarral a nyomtatóállványhoz.

Helyezze vissza a papírkazettát a papírkazetta egységbe.

Helyezze vissza a leszerelt hátsó burkolatot.

A nyomtató papírkazetta egységre vagy nyomtatóállványra történő telepítésekor olvassa el a kapcsolódó információkat.