È possibile installare direttamente il supporto della stampante sull'unità cassetto carta o sulla stampante.
Le istruzioni seguenti descrivono l'installazione sull'unità cassetto carta come esempio. Si consiglia di utilizzare il supporto della stampante se si installano le unità cassetto carta.

*: è possibile aggiungere tre unità cassetto carta.
Collocare il supporto della stampante su una superficie piana e bloccare le rotelle anteriori.
Tenere bloccate le rotelle per impedire lo spostamento della stampante.

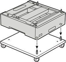
Installare due perni guida sul supporto della stampante.

Posizionare l'unità cassetto carta inferiore nel supporto della stampante. Allineare ciascuno dei fori sul fondo con i perni guida.

Rimuovere il coperchio posteriore dell'unità cassetto carta superiore.

Estrarre il cassetto carta superiore.

Fissare l’unità cassetto carta sul supporto della stampante con quattro viti.

Reinserire il cassetto carta nell’unità cassetto carta.

Reinstallare il coperchio posteriore rimosso.

Vedere Informazioni correlate quando si installa la stampante sull’unità cassetto carta o sul supporto della stampante.