용지 카세트 장치 또는 프린터에 직접 프린터 스탠드를 설치할 수 있습니다.
아래 지침은 용지 카세트 장치에 설치하는 것을 예로 설명합니다. 용지 카세트 장치를 설치할 경우 프린터 스탠드를 사용하는 것이 좋습니다.

*: 3개의 용지 카세트 장치를 추가할 수 있습니다.
프린터 스탠드를 평평한 표면에 놓고 전면 바퀴를 잠급니다.
프린터가 움직이지 않도록 바퀴를 잠그십시오.

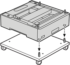
프린터 스탠드에 두 개의 가이드 핀을 설치합니다.

프린터 스탠드에서 가장 낮은 용지 카세트 장치를 설정합니다. 하단의 각 구멍을 가이드 핀에 맞춥니다.

상단 용지 카세트 장치의 후면 덮개를 제거합니다.

상단 용지 카세트를 꺼냅니다.

4개의 나사로 용지 카세트 장치를 프린터 스탠드에 고정합니다.

용지 카세트 장치에 용지 카세트를 다시 삽입하십시오.

제거한 뒷면 덮개를 다시 설치하십시오.

용지 카세트 장치 또는 프린터 스탠드에 프린터를 설치할 때 관련 정보를 참조하십시오.