Spausdintuvo stovą galite montuoti prie popieriaus dėklo arba tiesiogiai prie spausdintuvo.
Toliau pateiktuose nurodymuose kaip pavyzdys aprašomas montavimas prie popieriaus dėklo. Montuojant popieriaus dėklus rekomenduojame naudoti spausdintuvo stovą.

* Galite pridėti tris popieriaus dėklus.
Padėkite spausdintuvo stovą ant lygaus paviršiaus ir užfiksuokite priekinius ratukus.
Ratukai turi likti užfiksuoti, kad spausdintuvas nejudėtų.

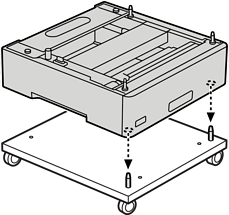
Į spausdintuvo stovą įdėkite du kreipiamuosius kaiščius.

Ant spausdintuvo stovo uždėkite apatinį popieriaus dėklą. Kiekvieną apačioje esančią kiaurymę sulygiuokite su kreipiamuoju kaiščiu.

Nuimkite viršutinio popieriaus dėklo galinį dangtį.

Ištraukite viršutinę popieriaus kasetę.

Pritvirtinkite popieriaus dėklą prie spausdintuvo stovo keturiais varžtais.

Vėl įdėkite popieriaus kasetę į popieriaus dėklą.

Uždėkite nuimtą galinį dangtį.

Montuodami spausdintuvą prie popieriaus dėklo arba prie spausdintuvo stovo, informacijos ieškokite toliau pateiktoje susijusios informacijos nuorodoje.