Printera paliktni var uzstādīt tieši uz papīra kasešu bloka vai printera.
Tālāk redzamajos norādījumos kā piemērs ir aprakstīta uzstādīšana uz papīra kasešu bloka. Ja uzstādāt papīra kasešu blokus, ieteicams izmantot printera paliktni.

*: var pievienot trīs papīra kasešu blokus.
Novietojiet printera paliktni uz līdzenas virsmas un bloķējiet priekšpusē esošos ritenīšus.
Lai printeris neizkustētos, nobloķējiet ritenīšus.

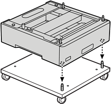
Uzstādiet divas vadotnes tapas uz printera paliktņa.

Uzstādiet apakšējo papīra kasešu bloku uz printera paliktņa. Pielāgojiet katru iedobumu apakšpusē ar vadotnes tapām.

Noņemiet augšējā papīra kasešu bloka aizmugurējo vāku.

Izvelciet augšējo papīra kaseti.

Saskrūvējiet papīra kasešu bloku ar printera paliktni, izmantojot četras skrūves.

Atkārtoti ievietojiet papīra kaseti papīra kasešu blokā.

Uzlieciet atpakaļ noņemto aizmugurējo vāku.

Informāciju par printera uzstādīšanu uz papīra kasešu bloka vai printera paliktņa skatiet sadaļā Saistītā informācija.