Pode instalar o suporte da impressora na unidade de cassete de papel ou diretamente na impressora.
As instruções apresentadas abaixo descrevem a instalação na unidade de cassete de papel como exemplo. Recomendamos que utilize o suporte da impressora se instalar as unidades de cassete de papel.

*: Pode adicionar três unidades de cassete de papel.
Coloque o suporte da impressora numa superfície plana e bloqueie as rodas dianteiras.
Mantenha as rodas bloqueadas para impedir que a impressora se desloque.

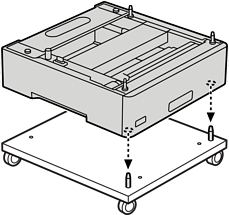
Instale dois pinos guia no suporte da impressora.

Coloque a unidade de cassete de papel no suporte da impressora. Alinhe os orifícios na parte inferior com os pinos guia.

Remova a tampa posterior da unidade de cassete de papel superior.

Puxe o alimentador de papel superior para fora.

Fixe a unidade de cassete de papel no suporte da impressora com quatro parafusos.

Reinstale o alimentador de papel na unidade de cassete de papel.

Reinstale a tampa posterior removida.

Consulte as informações relacionadas quando instalar a impressora na unidade de cassete de papel ou no suporte da impressora.