Puteți instala stativul pentru imprimantă pe unitatea de casetă pentru hârtie sau imprimanta în mod direct.
Instrucțiunile de mai jos descriu instalarea pe unitatea de casetă pentru hârtie, ca exemplu. Vă recomandăm să utilizați stativul pentru imprimantă dacă instalați unitățile de casetă pentru hârtie.

*: Puteți adăuga trei unități de casetă pentru hârtie.
Așezați stativul pentru imprimantă pe o suprafață plană și blocați rolele din față.
Mențineți rolele blocate pentru a preveni deplasarea imprimantei.

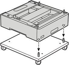
Instalați două știfturi de ghidare pe stativul imprimantei.

Configurați cea mai joasă unitate de casetă pentru hârtie pe stativul pentru imprimantă. Aliniați fiecare dintre orificiile din partea de jos cu știfturile de ghidare.

Demontați capacul spate al unității de casetă pentru hârtie superioare.

Scoateți caseta de hârtie superioară.

Fixați unitatea de casetă pentru hârtie pe stativul imprimantei cu patru șuruburi.

Reintroduceți caseta de hârtie în unitatea de casetă pentru hârtie.

Reinstalați capacul spate demontat.

Consultați secțiunea Informații conexe atunci când instalați imprimanta pe unitatea de casetă pentru hârtie sau pe stativul imprimantei.