Stojalo tiskalnika lahko namestite na kasetno enoto za papir ali neposredno na tiskalnik.
V spodnjih navodilih so za primer uporabljena navodila za namestitev na kasetno enoto za papir. Če namestite kasetne enote za papir, priporočamo, da uporabite stojalo tiskalnika.

*: dodate lahko tri kasetne enote za papir.
Stojalo tiskalnika postavite na ravno površino in blokirajte sprednja koleščka.
Koleščka naj bodo blokirana, da preprečite premikanje tiskalnika.

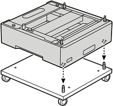
Namestite dva vodilna zatiča na stojalo tiskalnika.

Namestite najnižjo kasetno enoto za papir na stojalo tiskalnika. Posamezne odprtine na dnu poravnajte z vodilnimi zatiči.

Odstranite zadnji pokrov zgornje kasetne enote za papir.

Izvlecite zgornjo kaseto za papir.

Pritrdite kasetno enoto za papir na stojalo tiskalnika s štirimi vijaki.

Znova vstavite kaseto za papir v kasetno enoto za papir.

Znova namestite odstranjeni zadnji pokrov.

Za navodila za namestitev tiskalnika na kasetno enoto za papir ali stojalo tiskalnika kliknite povezavo »Sorodne informacije«.