Du kan installera skrivarstativet på papperskassettenheten eller direkt på skrivaren.
Nedan instruktioner beskriver installationen på papperskassettenheten som ett exempel. Vi rekommenderar att du använder skrivarstativet om du installerar papperskassettsenheterna.

*: Du kan lägga till tre papperskassettenheter.
Placera skrivarstativet på en plan yta och lås framhjulen.
Håll hjulen låsta för att hindra att skrivaren flyttar sig.

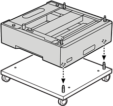
Installera två styrpinnar på skrivarstativet.

Placera den nedersta papperskassettenheten på skrivarstativet. Justera vart och ett av hålen undertill med styrpinnarna.

Ta bort den bakre luckan på den övre papperskassettenheten.

Dra ut den övre papperskassettenheten (Paper Cassette Unit).

Fixera papperskassettenheten på skrivarstativet med fyra skruvar.

Sätt tillbaka papperskassetten på papperskassettenheten.

Sätt tillbaka det bakre lock som togs bort.

Se Relaterad information när skrivaren installeras på papperskassettenhet eller skrivarstativ.