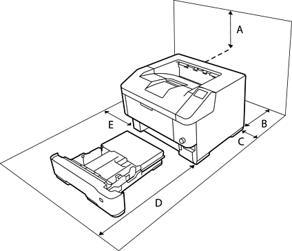
Saat memindahkan printer, selalu pilih lokasi yang memiliki ruang cukup untuk memudahkan pengoperasian dan pemeliharaan. Gunakan ilustrasi berikut sebagai panduan untuk ukuran ruang yang diperlukan di sekitar printer guna memastikan kelancaran pengoperasian.
Angka dibulatkan ke bilangan bulat terdekat.

|
A |
400 mm |
|
B |
200 mm * |
|
C |
100 mm |
|
D |
600 mm |
|
E |
300 mm |
* 500 mm ketika wadah yang menghadap ke atas sudah terpasang.
Selain pertimbangan ruang, selalu perhatikan peringatan berikut saat mencari tempat untuk meletakkan printer:
Letakkan printer di dekat stopkontak listrik yang mudah dijangkau untuk memasang dan melepas kabel daya.
Jangan letakkan printer pada tempat yang kabelnya dapat terinjak.
Jangan gunakan printer di lingkungan yang lembap.
Hindari lokasi yang terpapar sinar matahari langsung, panas berlebih, lembap, berminyak, atau berdebu.
Hindari lokasi yang terpapar udara langsung dari pendingin udara.
Jangan letakkan printer pada permukaan yang tidak stabil.
Slot dan pintu dalam kabinet dan di bagian belakang atau depan disediakan untuk ventilasi. Jangan halangi atau tutupi tempat tersebut. Jangan letakkan printer pada ranjang, sofa, karpet, atau permukaan sejenis, atau di dalam instalasi tanam, kecuali jika terdapat ventilasi.
Jauhkan seluruh sistem komputer dan printer dari sumber gangguan, seperti pengeras suara atau unit dasar telepon nirkabel.
Beri ruang yang cukup di sekitar printer agar tersedia ventilasi yang memadai.