
|
|
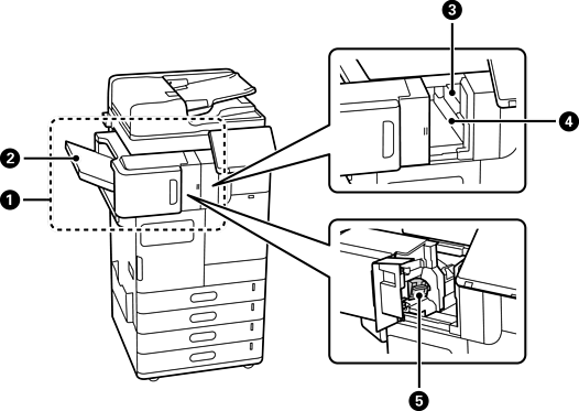
pərçim cilalayıcısı-P1 (Staple Finisher-P1) |
Çıxarmazdan əvvəl kağızı çeşidləyir və pərçimləyir. İxtiyari dəlik açma qurğusundan istifadə edərək dəliklər açır. İstəyə görə buklet çapı bölməsindən istifadə edərək bukleti çap edir və qatlayır. |
|
|
Buklet altlığı |
Qatlanmış və ya buklet formasında çap edilmiş sənədləri saxlayır. |
|
|
Bitirici rəf |
Sıralanmış və ya pərçimlənən sənədləri saxlayır. |
|
|
Çıxış altlığı |
Çıxan kağızı tutur. Bu qabı yalnız qəbul edilən fakslar üçün çıxış təyinatı kimi təyin edə bilərsiniz. |
|
|
Əl ilə pərçimlər üçün əməliyyat paneli |
Əl ilə pərçimləyərkən bundan istifadə edin. |
|
|
Yuxarı çıxış rəfi |
Çıxan kağızı tutur. Bu qabı çıxış təyinatı kimi təyin edə bilməzsiniz. Kağız burada müəyyən şərtlərdən asılı olaraq avtomatik olaraq çıxarılır. |
|
|
Dəlik tullantıları altlığı |
Dəlikaçanın dəlik qırıntılarını toplayır. |
|
|
Pərçim Kartrici |
Düz tikiş üçün. |
|
|
Pərçim Kartrici |
Ortadan tikiş üçün. |

|
|
daxili cilalayıcı-P1 (Inner finisher-P1) |
Çıxarmazdan əvvəl kağızı çeşidləyir və pərçimləyir. İxtiyari dəlik açma qurğusundan istifadə edərək dəliklər açır. |
|
|
Bitirici rəf |
Sıralanmış və ya pərçimlənən sənədləri saxlayır. |
|
|
Dəlikaçma qurğusu |
Bağlamaq üçün dəliklər açır. |
|
|
Dəlikaçanın tullantı altlığı |
Dəlikaçanın dəlik qırıntılarını toplayır. |
|
|
Pərçim Kartrici |
Düz tikiş üçün. |

|
|
LAN portu |
Siz əlavə ethernet panelini quraşdıraraq iki simli LAN xəttindən istifadə edə bilərsiniz. |
|
|
EXT. portu |
Xarici telefon aparatları qoşulur. |
|
|
LINE1 portu |
3-Ə qədər xətt əlavə edə bilərsiniz. Kompüterinizdə sənədlər göndərmək və almaq üçün ondan faks kimi istifadə edə və ya şəbəkə faksı kimi istifadə edə bilərsiniz. Bundan əlavə, siz faks lövhəsi əlavə etməklə çoxlu sayda telefon xətti qoşa bilərsiniz. Bu, qısa vaxtda çoxlu sayda təyinat yerinə göndərməyinizə icazə verir və ya bir xətti faksları almağa ayıra və bununla da, zəngləri ala bilmədiyiniz vaxtı azalda bilərsiniz. * *: Xarici telefonlar mövcud deyil. |
|
|
LINE2 portu |
|
|
|
LINE3 portu |

|
|
Daxili altlıq-P1 (Inner Tray-P1) |
Bu qabı yalnız qəbul edilən fakslar üçün çıxış təyinatı kimi təyin edə bilərsiniz. |
|
|
Əsilliyi yoxlama cihazının cədvəli-P1 (Authentication Device Table-P1) və ya Əsilliyi yoxlama cihazının cədvəli-P2 (Authentication Device Table-P2) |
Printer tərəfindən əsilliyi yoxlama cihazını əlavə etməyə imkan verir. Daha sonra printerin üzərində identifikasiya kartını tutaraq printerə daxil ola bilərsiniz. |
|
|
Yüksək tutumlu altlıq-P1 (High Capacity Tray-P1) |
Böyük miqdarda kağız yükləməyə imkan verir. |
|
|
Stabilizator-P1 (Stabiliser-P1) |
Çarpmanın qarşısını almaq üçün printeri dəstəkləyir. Stabilizatorlar, adətən, dörd nöqtəyə bağlanmalıdır. İstəyə görə pərçim cilalayıcısı və ya yüksək tutumlu altlıq quraşdırılıbsa, stabilizatorlar əlavə elementin quraşdırıldığı tərəfə əlavə edilə bilməz. Ölkənizdən və ya regionunuzdan asılı olaraq bunlar mövcud olmaya bilər. |
|
|
Kaster Cədvəli-P1 (Caster Table-P1) |
Printeri asanlıqla köçürməyə imkan verir. |
|
|
İstəyə bağlı ikili kaset-P1 (Optional Dual Cassette-P1) |
C3 və C4 kağız kasetlərini printerə əlavə edir. |
|
|
Kağız kasetinin kilidi-P1 (Paper Cassette Lock-P1) |
Administrator kağız istifadəsini idarə etmək istədikdə kasetləri kilidləmək üçün bunu iki kağız kasetinə asma kilidlə əlavə edin. |