
|
|
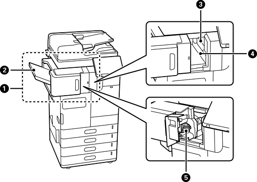
nitojaviimeistelijä P1 (Staple Finisher-P1) |
Lajittelee ja nitoo paperin ennen kuin se tulee ulos laitteesta. Rei’ittää lisävarusteena saatavaa rei’itysyksikköä käyttäen. Satulanitoo ja taittaa paperin käyttämällä valinnaista satulanidontayksikköä. |
|
|
Vihkoalusta |
Taitettujen tai satulanidottujen asiakirjojen paikallaan pitämiseen. |
|
|
Viimeistelytaso |
Lajiteltujen tai nidottujen tulosteiden luovutustaso. |
|
|
Luovutustaso |
Ottaa vastaan laitteesta tulostuvat arkit. Voit määrittää ainoastaan tämän alustan vastaanotettujen faksien tulostuskohteeksi. |
|
|
Manuaalisen nidonnan toimintapaneeli |
Käytä tätä nidottaessa manuaalisesti. |
|
|
Yläluovutustaso |
Ottaa vastaan laitteesta tulostuvat arkit. Et voi määrittää tätä tasoa tulostuskohteeksi. Paperi poistetaan automaattisesti tässä määrätyillä ehdoilla. |
|
|
Rei’ityksen jätelaatikko |
Kerää rei’ityksen jätteet. |
|
|
Nidekasetti |
Tasasidontaan. |
|
|
Nidekasetti |
Satulasidontaan. |

|
|
sisäviimeistely-yksikkö P1 (Inner finisher-P1) |
Lajittelee ja nitoo paperin ennen kuin se tulee ulos laitteesta. Rei’ittää lisävarusteena saatavaa rei’itysyksikköä käyttäen. |
|
|
Viimeistelytaso |
Lajiteltujen tai nidottujen tulosteiden luovutustaso. |
|
|
Rei’itysyksikkö |
Rei’ittää sidontaa varten. |
|
|
Rei’ityksen jätealusta |
Kerää rei’ityksen jätteet. |
|
|
Nidekasetti |
Tasasidontaan. |

|
|
LAN-portti |
Voit käyttää kahta langallista LAN-linjaa asentamalla valinnaisen ethernet-kortin. |
|
|
EXT.-portti |
Ulkoisten puhelinlaitteiden liittämiseen. |
|
|
LINE1-portti |
Voit lisätä enintään 3 linjaa. Voit käyttää sitä faksina tai käyttää sitä verkkofaksina lähettääksesi ja vastaanottaaksesi asiakirjoja tietokoneellesi. Lisäksi voit yhdistää useita puhelinlinjoja lisäämällä faksikortin. Tämä mahdollistaa lähettämisen useille kohteille lyhyessä ajassa tai voit asettaa yhden linjan vastaanottamaan fakseja lyhentäen aikaa, jolloin et voi vastaanottaa puheluita. * *: Ulkoiset puhelut eivät ole käytettävissä. |
|
|
LINE2-portti |
|
|
|
LINE3-portti |

|
|
Sisätaso-P1 (Inner Tray-P1) |
Voit määrittää ainoastaan tämän alustan vastaanotettujen faksien tulostuskohteeksi. |
|
|
Tarkistuslaitepöytä-P1 (Authentication Device Table-P1) tai Tarkistuslaitepöytä-P2 (Authentication Device Table-P2) |
Mahdollistaa tulostimen tukeman todennuslaitteen kiinnittämisen. Voit sen jälkeen kirjautua tulostimeen pitämällä todennuskorttia tulostimen päällä. |
|
|
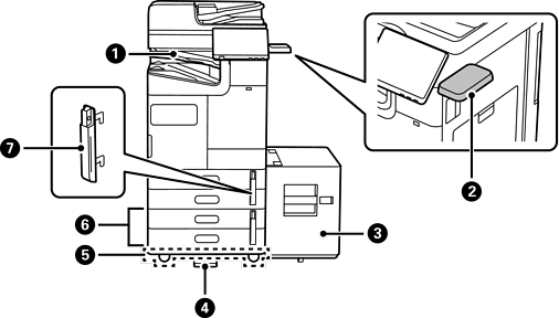
Suuren kapasiteetin taso-P1 (High Capacity Tray-P1) |
Mahdollistaa suuren paperimäärän lisäämisen. |
|
|
Vakaaja-P1 (Stabiliser-P1) |
Tukee tulostinta estäen sitä kaatumasta. Vakaajat tulee normaalisti kiinnittää neljään kohtaan. Jos valinnainen nidonnan viimeistelytyökalu tai suuren kapasiteetin taso on asennettu, vakaajia ei voi kiinnittää puolelle, johon valinnainen kohde on kiinnitetty. Näitä ei ehkä ole käytettävissä maassasi tai alueellasi. |
|
|
Rullapöytä-P1 (Caster Table-P1) |
Mahdollistaa tulostamisen helpon siirtämisen. |
|
|
Valinnainen kaksoiskasetti-P1 (Optional Dual Cassette-P1) |
Lisää tulostimeen paperikasetit C3 jaC4 . |
|
|
Paperikasetin lukitus-P1 (Paper Cassette Lock-P1) |
Kun järjestelmänvalvoja haluaa hallita paperinkäyttöä, kiinnitä tämä kahteen paperikasettiin, joissa on lukko kasettien lukitsemista varten. |