Lieu et espace d’installation

Placez l'imprimante dans un lieu qui répond aux conditions suivantes afin de garantir une utilisation en toute sécurité.

  • Une surface plane et stable qui peut supporter le poids de l'imprimante

  • Lieux qui n'obstruent ou ne recouvrent pas les ouvertures de l'imprimante

  • Lieux dans lesquels vous pouvez charger et retirer facilement du papier

  • Lieux répondant aux conditions de la section « Caractéristiques environnementales » de ce manuel

Important:

Ne placez pas l'imprimante dans les lieux suivants, car un dysfonctionnement pourrait survenir.

  • Exposée à la lumière directe du soleil

  • Exposés aux variations rapides de température et d'humidité

  • Exposée aux feux

  • Exposée aux substances volatiles

  • Exposée aux chocs ou aux vibrations

  • À proximité d'une télévision ou d'une radio

  • À proximité de saleté ou de poussière excessives

  • À proximité d'un point d'eau

  • À proximité d'un équipement de climatisation ou de chauffage

  • À proximité d'un humidificateur

Utilisez un tapis antistatique disponible dans le commerce pour éviter la génération d'électricité statique dans les endroits susceptibles de générer de l'électricité statique.

Suffisamment d’espace pour installer et utiliser correctement l’imprimante.

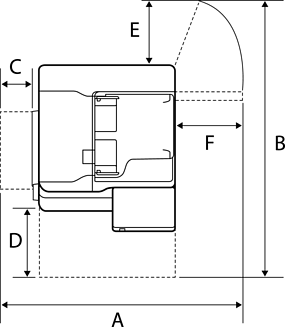
Imprimante

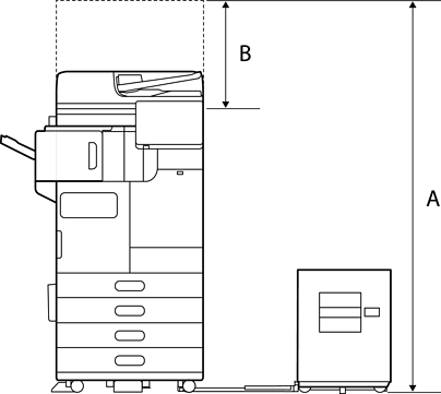
Avant

A

1588 mm

B

518 mm

Dessus

A

1065 mm

B

1238 mm

C

70 mm

D

435 mm

E

210 mm

F

441 mm

Avec le finisseur d’agrafage

Avant

A

1588 mm

B

518 mm

Dessus

A

2076 mm

B

1260 mm

C

110 mm

D

210 mm

E

456 mm

Avec le finisseur intérieur

Avant

A

1588 mm

B

518 mm

Dessus

A

1665 mm

B

1260 mm

C

117 mm

D

210 mm

E

456 mm