
|
|
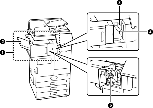
uređaj za klamanje-P1 (Staple Finisher-P1) |
Sortira i spaja papir prije njegova izbacivanja. Buši rupe koristeći dodatnu bušilicu rupa. Uvezuje klamanjem i presavija papir korištenjem dodatne jedinice za uvez klamanjem. |
|
|
Pretinac za knjižicu |
Drži presavijene dokumente ili dokumente uvezane klamanjem. |
|
|
Pretinac uređaja za završnu obradu |
Drži posložene ili zaklamane dokumente. |
|
|
Izlazni pretinac |
Pridržava izbačeni papir. Ovaj pretinac možete navesti kao izlazno odredište samo za primljene faksove. |
|
|
Upravljačka ploča za ručne klamerice |
Koristite kada koristite ručno klamanje. |
|
|
Gornji izlazni pretinac |
Pridržava izbačeni papir. Ovaj pretinac ne možete navesti kao izlazno odredište. Papir se automatski izbacuje na to mjesto ovisno o određenim uvjetima. |
|
|
Kutija za otpad od bušenja |
Sakuplja otpad nastao pri bušenju. |
|
|
Uložak za klamanje |
Za ravno uvezivanje. |
|
|
Uložak za klamanje |
Za uvez klamanjem. |

|
|
unutarnji finišer-P1 (Inner finisher-P1) |
Sortira i spaja papir prije njegova izbacivanja. Buši rupe koristeći dodatnu bušilicu rupa. |
|
|
Pretinac uređaja za završnu obradu |
Drži posložene ili zaklamane dokumente. |
|
|
Jedinica za bušenje rupa |
Buši rupe za uvez. |
|
|
Pretinac za otpad od bušenja |
Sakuplja otpad nastao pri bušenju. |
|
|
Uložak za klamanje |
Za ravno uvezivanje. |

|
|
LAN ulaz |
Ugradnjom dodatne ploče Etherneta moguće je koristiti dvije žičane LAN linije. |
|
|
EXT. ulaz |
Služi za spajanje s vanjskim telefonskim uređajima. |
|
|
LINE1 ulaz |
Moguće je dodati do 3 linije. Možete ga koristiti kao faks ili mrežni faks za slanje i primanje dokumenata na vaše računalo. Također se možete spojiti na više telefonskih linija dodavanjem ploče faksa. To vam omogućava slanje na više odredišta u kratkom vremenu ili možete dodijeliti jednu liniju za primanje faksova i tako skratiti vrijeme kada ne možete primati pozive. * *: Nisu dostupni vanjski telefoni. |
|
|
LINE2 ulaz |
|
|
|
LINE3 ulaz |

|
|
Unutarnji pretinac-P1 (Inner Tray-P1) |
Ovaj pretinac možete navesti kao izlazno odredište samo za primljene faksove. |
|
|
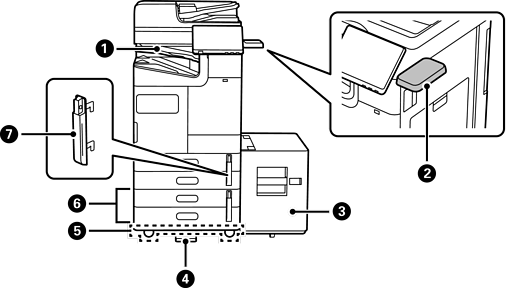
Stol za autentikacijski uređaj-P1 (Authentication Device Table-P1) ili Stol za autentikacijski uređaj-P2 (Authentication Device Table-P2) |
Omogućava priključivanje autentikacijskog uređaja koji pisač podržava. Nakon toga na pisač se možete prijaviti držeći autentikacijsku karticu iznad pisača. |
|
|
Ladica velikog kapaciteta-P1 (High Capacity Tray-P1) |
Omogućava umetanje velike količine papira. |
|
|
Stabilizator-P1 (Stabiliser-P1) |
Podržava pisač i sprječava njegovo prevrtanje. Stabilizatori se obično pričvršćuju na četiri točke. Ako je ugrađen dodatni uređaj za klamanje ili pretinac velikog kapaciteta , stabilizatore nije moguće pričvrstiti na stranu gdje je ugrađen taj dodatni uređaj. To možda neće biti raspoloživo u vašoj državi ili regiji. |
|
|
Stol s kotačićima-P1 (Caster Table-P1) |
Omogućava jednostavno premještanje pisača. |
|
|
Dodatna dvojna kaseta-P1 (Optional Dual Cassette-P1) |
Na pisač dodaje kasete s papirom C3 i C4. |
|
|
Brava kasete s papirom-P1 (Paper Cassette Lock-P1) |
Kada administrator želi upravljati korištenjem papira, pričvrstite lokotom na dvije kasete s papirom kako biste zaključali kasete. |