> Informações sobre o produto > Especificações do produto > Local e espaço de instalação

Local e espaço de instalação

Para garantir uma utilização em segurança, coloque a impressora num local que reúna as seguintes condições.

  • Uma superfície plana e estável que suporte o peso da impressora

  • Locais que não bloqueiem nem cubra as saídas de ventilação da impressora

  • Locais onde seja possível colocar e retirar facilmente papel

  • Locais que reúnam as condições previstas em "Especificações Ambientais" neste manual

Importante:

Não colocar a impressora nos locais que se sequem; se o fizer pode provocar uma avaria.

  • Exposta à luz solar direta

  • Locais sujeitos a alterações súbitas de temperatura e humidade

  • Onde exista risco de incêndio

  • Sujeito a substâncias voláteis

  • Sujeito a choques e vibrações

  • Próxima de uma televisão ou rádio

  • Próxima de fontes de sujidade ou pó excessivos

  • Próxima da água

  • Próxima de equipamentos de ar-condicionado ou aquecimento

  • Próxima de um humidificador

Usar um tecido anti estático disponível comercialmente para prevenir a criação de eletricidade estática em locais propícios à produção de eletricidade estática.

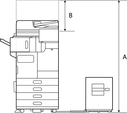
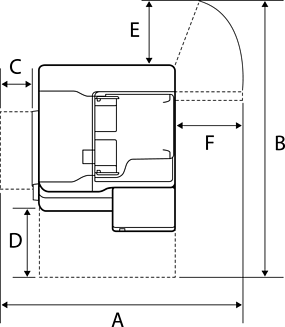
Reserve espaço suficiente para instalar e utilizar a impressora corretamente.

Impressora

Frente

A

1588 mm

B

518 mm

Topo

A

1065 mm

B

1238 mm

C

70 mm

D

435 mm

E

210 mm

F

441 mm

Com finalizador de agrafos

Frente

A

1588 mm

B

518 mm

Topo

A

2076 mm

B

1260 mm

C

110 mm

D

210 mm

E

456 mm

Com finalizador interno

Frente

A

1588 mm

B

518 mm

Topo

A

1665 mm

B

1260 mm

C

117 mm

D

210 mm

E

456 mm