
|
|
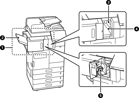
acabamento agrafador-P1 (Staple Finisher-P1) |
Ordena e agrafa o papel antes de o ejetar. Realiza furos usando a unidade de perfuração opcional. Agrafa e dobra papel utilizando a unidade de agrafagem opcional. |
|
|
Tabuleiro de folheto |
Suporta documentos dobrados ou agrafados. |
|
|
Tabuleiro de apoio |
Suporte para documentos ordenados ou agrafados. |
|
|
Tabuleiro de saída |
Recolhe o papel ejetado. Pode especificar este tabuleiro como destino de saída apenas para faxes recebidos. |
|
|
Painel de operação para agrafos manuais |
Utilize quando agrafar manualmente. |
|
|
Tabuleiro de saída superior |
Recolhe o papel ejetado. Não é possível especificar este tabuleiro como destino de saída. O papel é automaticamente ejetado aqui, dependendo de determinadas condições. |
|
|
Caixa de detritos de perfurações |
Recolhe os detritos da perfuração de orifícios. |
|
|
Cartucho de agrafos |
Para agrafar de forma plana. |
|
|
Cartucho de agrafos |
Para agrafar em forma de sela. |

|
|
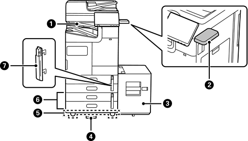
acabamento interno-P1 (Inner finisher-P1) |
Ordena e agrafa o papel antes de o ejetar. Realiza furos usando a unidade de perfuração opcional. |
|
|
Tabuleiro de apoio |
Suporte para documentos ordenados ou agrafados. |
|
|
Unidade de perfuração de orifícios |
Efetua perfurações para unir o papel. |
|
|
Tabuleiro de detritos de perfurações |
Recolhe os detritos da perfuração de orifícios. |
|
|
Cartucho de agrafos |
Para agrafar de forma plana. |

|
|
Porta LAN |
Pode utilizar duas linhas LAN instalando a placa Ethernet opcional. |
|
|
Porta EXT. |
Liga dispositivos telefónicos externos. |
|
|
Porta LINE1 |
Pode adicionar até 3 linhas. Pode utilizar como fax ou como fax de rede para enviar e receber documentos no seu computador. Além disso, pode ligar-se a várias linhas telefónicas adicionando uma placa de fax. Isto permite-lhe enviar para vários destinos num curto espaço de tempo, ou pode dedicar uma linha à receção de faxes, reduzindo assim o tempo em que fica impossibilitado de receber chamadas. * *: Os telefones externos não estão disponíveis. |
|
|
Porta LINE2 |
|
|
|
Porta LINE3 |

|
|
Tabuleiro interno-P1 (Inner Tray-P1) |
Pode especificar este tabuleiro como destino de saída apenas para faxes recebidos. |
|
|
Mesa de dispositivo de autenticação-P1 (Authentication Device Table-P1) ou Mesa de dispositivo de autenticação-P2 (Authentication Device Table-P2) |
Permite colocar um dispositivo de autenticação suportado pela impressora. Pode então iniciar sessão na impressora segurando um cartão de autenticação sobre a impressora. |
|
|
Tabuleiro de capacidade elevada-P1 (High Capacity Tray-P1) |
Permite colocar uma grande quantidade de papel. |
|
|
Estabilizador-P1 (Stabiliser-P1) |
Apoia a impressora para evitar a sua queda. Os estabilizadores devem ser fixados a quatro pontos. Se o finalizador de agrafos opcional ou o tabuleiro de capacidade elevada estiver instalado, os estabilizadores não podem ser fixados no lado onde o item opcional está instalado. Podem não estar disponíveis, dependendo do seu país ou região. |
|
|
Base com rodas-P1 (Caster Table-P1) |
Permite deslocar facilmente a impressora. |
|
|
Alimentador duplo opcional-P1 (Optional Dual Cassette-P1) |
Adiciona os alimentadores de papel C3 e C4 à impressora. |
|
|
Bloqueio do alimentador de papel-P1 (Paper Cassette Lock-P1) |
Quando o administrador pretender gerir a utilização de papel, deve encaixar este item em dois alimentadores de papel com um cadeado para bloquear os alimentadores. |