
|
|
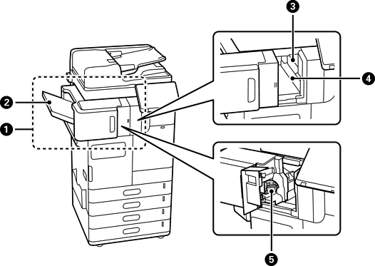
zaključevalnik spenjanja-P1 (Staple Finisher-P1) |
Razvrsti in spne papir, preden ga izvrže. Naredi luknje z dodatno enoto za luknjanje. Doda dvojni šiv in zloži papir z dodatno enoto za dvojni šiv. |
|
|
Pladenj za knjižico |
Za odlaganje zloženih dokumentov z dvojnim šivom. |
|
|
Pladenj zaključevalnika |
Za odlaganje razvrščenih ali spetih dokumentov. |
|
|
Izhodni pladenj |
Pridrži izvržen papir. Ta pladenj lahko določite samo kot izhodno mesto za prejete fakse. |
|
|
Upravljalna plošča za ročni spenjalnik |
Uporabite ga za ročno spenjanje. |
|
|
Zgornji izhodni pladenj |
Pridrži izvržen papir. Tega pladnja ne morete določiti kot izhodnega mesta. Papir je samodejno izvržen sem glede na določene pogoje. |
|
|
Škatla za ostanke pri luknjanju |
Za zbiranje odpadkov pri luknjanju. |
|
|
Kartuša s sponkami |
Za plosko šivanje. |
|
|
Kartuša s sponkami |
Za dvojno šivanje. |

|
|
notranji zaključevalnik-P1 (Inner finisher-P1) |
Razvrsti in spne papir, preden ga izvrže. Naredi luknje z dodatno enoto za luknjanje. |
|
|
Pladenj zaključevalnika |
Za odlaganje razvrščenih ali spetih dokumentov. |
|
|
Luknjač |
Naredi luknje za vezavo. |
|
|
Pladenj za odpadke pri luknjanju |
Za zbiranje odpadkov pri luknjanju. |
|
|
Kartuša s sponkami |
Za plosko šivanje. |

|
|
Vrata LAN |
Z namestitvijo dodatne ethernetne plošče lahko uporabljate dve žični liniji LAN. |
|
|
Vrata EXT. |
Priklop zunanjih telefonskih naprav. |
|
|
Vrata LINE 1 |
Dodate lahko največ tri linije. Uporabljajte jih lahko za faksiranje ali omrežno faksiranje za pošiljanje in prejemanje dokumentov v računalniku. Poleg tega lahko povežete več telefonskih linij tako, da dodate ploščo faksa. Tako lahko v kratkem času pošljete fakse več prejemnikom ali pa eno linijo nastavite za prejemanje faksov in s tem skrajšate čas, ko ne morete prejemati klicev. * *: Zunanji telefoni niso na voljo. |
|
|
Vrata LINE 2 |
|
|
|
Vrata LINE 3 |

|
|
Notranji pladenj – P1 (Inner Tray-P1) |
Ta pladenj lahko določite samo kot izhodno mesto za prejete fakse. |
|
|
Miza za preverjanje pristnosti naprave – P1 (Authentication Device Table-P1) ali Miza za preverjanje pristnosti naprave – P2 (Authentication Device Table-P2) |
Omogoča priključitev naprave za preverjanje pristnosti, ki jo podpira tiskalnik. V tiskalnik se nato lahko prijavite tako, da nad njim pridržite kartico za preverjanje pristnosti. |
|
|
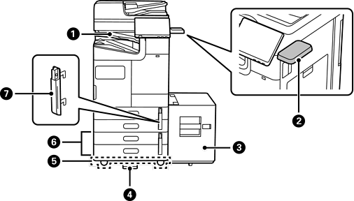
Visokozmogljiv pladenj – P1 (High Capacity Tray-P1) |
Omogoča, da naložite veliko količino papirja. |
|
|
Stabilizator – P1 (Stabiliser-P1) |
Podpira tiskalnik, da se ne prevrne. Stabilizatorji morajo biti običajno pritrjeni na štiri točke. Če je nameščen dodatni zaključevalnik spenjanja ali visokozmogljiv pladenj, stabilizatorjev ni mogoče pritrditi na strani, na kateri je nameščena dodatna oprema. Stabilizatorji morda niso na voljo v vaši državi ali regiji. |
|
|
Miza s koleščki – P1 (Caster Table-P1) |
Omogoča preprosto premikanje tiskalnika. |
|
|
Dodatna dvojna kaseta – P1 (Optional Dual Cassette-P1) |
Tiskalniku doda kaseti za papir C3 in C4. |
|
|
Zaklep kasete za papir – P1 (Paper Cassette Lock-P1) |
Ko želi skrbnik upravljati porabo papirja, ga s ključavnico pritrdi na dve kaseti za papir, da zaklene kaseti. |