
|
|
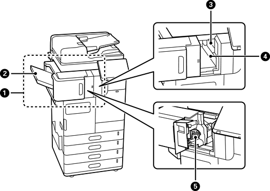
häftenhet-P1 (Staple Finisher-P1) |
Sorterar och häftar papper innan den matar ut det. Stansar hål med den tillvalda hålstansenheten. Häftning och vikning av papper med hjälp av stansningsenheten (tillval). |
|
|
Broschyrmagasin |
För vikta eller häftade dokument. |
|
|
Efterbehandlarfack |
Håller sorterade eller staplade dokument. |
|
|
Utmatningsfack |
Håller papperet som matats ut. Du kan endast ange den här facket som utskriftsadress för mottagna fax. |
|
|
Manöverpanel för manuella häftklamrar |
Använd den här funktionen när du häftar manuellt. |
|
|
Övre utmatningsfack |
Håller papperet som matats ut. Du kan inte ange det här facket som utskriftsmål. Papper matas ut automatiskt här beroende på vissa förhållanden. |
|
|
Avfallslåda för hålslagning |
Samla upp skräp från hålslagaren. |
|
|
Häftkassett |
För platt häftning. |
|
|
Häftkassett |
För trådhäftning |

|
|
invändig efterbehandlare-P1 (Inner finisher-P1) |
Sorterar och häftar papper innan den matar ut det. Stansar hål med den tillvalda hålstansenheten. |
|
|
Efterbehandlarfack |
Håller sorterade eller staplade dokument. |
|
|
Stansenhet |
Stansar hål för bindning. |
|
|
Spillfack för hålslagare |
Samla upp skräp från hålslagaren. |
|
|
Häftkassett |
För platt häftning. |

|
|
LAN-port |
Du kan använda två trådbundna LAN-linjer genom att installera tillvalet Ethernetkort. |
|
|
EXT.-port |
Ansluter externa telefonenheter. |
|
|
LINE1-port |
Du kan lägga till upp till 3 linjer. Du kan använda det som en fax, eller använda den som ett nätverksfax för att skicka och ta emot dokument på din dator. Dessutom kan du ansluta till flera telefonlinjer genom att lägga till ett faxkort. Detta gör att du kan skicka till ett antal destinationer på kort tid, eller så kan du dedikera en linje till att ta emot fax och därmed minska tiden som du inte kan ta emot samtal. * *: Externa telefoner är inte tillgängliga. |
|
|
LINE2-port |
|
|
|
LINE3-port |

|
|
Inre fack-P1 (Inner Tray-P1) |
Du kan endast ange den här facket som utskriftsadress för mottagna fax. |
|
|
Autentiseringsenhetstabell-P1 (Authentication Device Table-P1) eller Autentiseringsenhetstabell-P2 (Authentication Device Table-P2) |
Här kan du ansluta en autentiseringsenhet som stöds av skrivaren. Du kan sedan logga in på skrivaren genom att hålla ett autentiseringskort över skrivaren. |
|
|
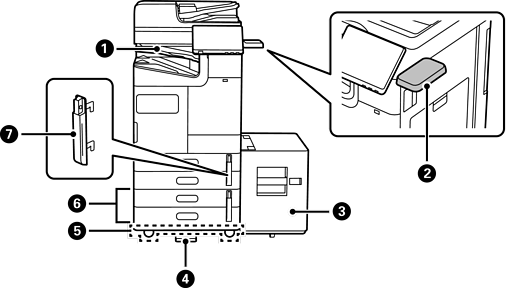
Högkapacitetsfack-P1 (High Capacity Tray-P1) |
Gör att du kan fylla på en stor mängd papper. |
|
|
Stabilisator-P1 (Stabiliser-P1) |
Stödjer skrivaren för att förhindra att den välter. Stabilisatorerna ska normalt fästas på fyra punkter. Om den tillvalen staplare eller högkapacitetsfack är installerade, kan stabilisatorerna inte fästas på den sida där tillvalsobjektet är installerat. Det kan hända att de inte är tillgängliga beroende på ditt land eller din region. |
|
|
Hjulbord-P1 (Caster Table-P1) |
Gör att du enkelt kan flytta skrivaren. |
|
|
Dubbelkassett (tillval)-P1 (Optional Dual Cassette-P1) |
Lägger till papperskassetter C3 och C4 till skrivaren. |
|
|
Papperskassettlås-P1 (Paper Cassette Lock-P1) |
När administratören vill hantera pappersanvändningen kan du fästa den här på två papperskassetter med ett hänglås för att låsa kassetterna. |