
|
|
zımba son işlemcisi-P1 (Staple Finisher-P1) |
Kağıdı çıkarmadan önce sıralar ve zımbalar. İsteğe bağlı delik delme ünitesini kullanarak delikler deler. İsteğe bağlı sırt dikişi ünitesini kullanarak kağıdı sırttan diker ve katlar. |
|
|
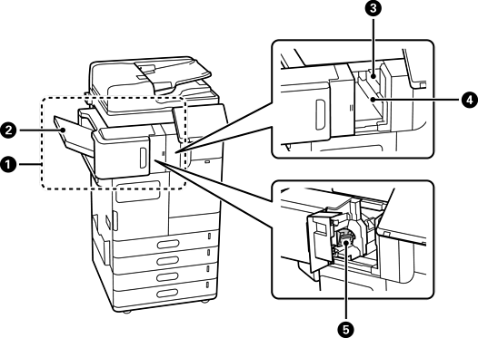
Kitapçık tepsisi |
Katlı veya sırt dikişli belgeleri tutar. |
|
|
Sonlandırıcı tepsisi |
Sıralı veya zımbalı belgeleri tutar. |
|
|
Çıkış tepsisi |
Çıkarılan kağıdı tutar. Bu tepsiyi yalnızca alınan fakslar için çıkış hedefi olarak belirleyebilirsiniz. |
|
|
Manuel zımbalar için çalışma paneli |
Manuel olarak zımbalarken bunu kullanın. |
|
|
Üst çıkış tepsisi |
Çıkarılan kağıdı tutar. Bu tepsiyi çıkış hedefi olarak belirtemezsiniz. Belirli koşullara bağlı olarak kağıt buradan otomatik olarak çıkarılır. |
|
|
Zımba atık kutusu |
Zımba deliği parçalarını toplar. |
|
|
Zımba Kartuşu |
Düz dikiş için. |
|
|
Zımba Kartuşu |
Sırt dikişi için. |

|
|
iç son işlemci-P1 (Inner finisher-P1) |
Kağıdı çıkarmadan önce sıralar ve zımbalar. İsteğe bağlı delik delme ünitesini kullanarak delikler deler. |
|
|
Sonlandırıcı tepsisi |
Sıralı veya zımbalı belgeleri tutar. |
|
|
Delik Delme Ünitesi |
Ciltleme için delik açar. |
|
|
Zımba atık tepsisi |
Zımba deliği parçalarını toplar. |
|
|
Zımba Kartuşu |
Düz dikiş için. |

|
|
LAN bağlantı noktası |
İsteğe bağlı ethernet kartını takarak iki kablolu LAN hattı kullanabilirsiniz. |
|
|
EXT. bağlantı noktası |
Harici telefon cihazlarını bağlar. |
|
|
LINE 1 bağlantı noktası |
En fazla 3 hat ekleyebilirsiniz. Bir faks numarası olarak kullanabilir veya bilgisayarınızdaki belgeleri göndermek ve almak için bir ağ faksı olarak kullanabilirsiniz. Ek olarak, bir faks kartı ekleyerek birden fazla telefon hattına bağlanabilirsiniz. Bu, kısa bir sürede bir hedef sayısı göndermenize izin verir veya bir hattı alınan fakslara ayırabilirsiniz, böylece çağrıları alamadığınız süreyi kısaltabilirsiniz. * *: Harici telefonlar kullanılamıyor. |
|
|
LINE 2 bağlantı noktası |
|
|
|
LINE 3 bağlantı noktası |

|
|
İç Tepsi-P1 (Inner Tray-P1) |
Bu tepsiyi yalnızca alınan fakslar için çıkış hedefi olarak belirleyebilirsiniz. |
|
|
Kimlik Doğrulama Aygıtı Masası-P1 (Authentication Device Table-P1) veya Kimlik Doğrulama Aygıtı Masası-P2 (Authentication Device Table-P2) |
Yazıcı tarafından desteklenen bir kimlik doğrulama cihazı eklemenizi sağlar. Ardından, yazıcı üzerine bir kimlik doğrulama kartı tutarak yazıcıda oturum açabilirsiniz. |
|
|
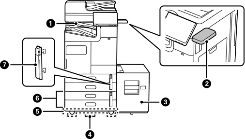
Yüksek Kapasiteli Tepsi-P1 (High Capacity Tray-P1) |
Çok miktarda kağıt yüklemenizi sağlar. |
|
|
Sabitleyici-P1 (Stabiliser-P1) |
Yazıcıyı devrilmesini önlemek için destekler. Sabitleyiciler normalde dört noktaya bağlanmalıdır. İsteğe bağlı zımba sonlandırıcısı veya yüksek kapasiteli tepsi takılıysa, sabitleyiciler isteğe bağlı öğenin takılı olduğu tarafa takılamaz. Bunlar ülkenize veya bölgenize bağlı olarak mevcut olmayabilir. |
|
|
Tekerlekli Masa-P1 (Caster Table-P1) |
Yazıcıyı kolayca taşımanızı sağlar. |
|
|
Opsiyonel Çift Kaset-P1 (Optional Dual Cassette-P1) |
C3 ve C4 kağıt kasetlerini yazıcıya ekler. |
|
|
Kağıt Kaseti Kilidi-P1 (Paper Cassette Lock-P1) |
Yönetici kağıt kullanımını yönetmek istediğinde, kasetleri kilitlemek için bunu bir asma kilitle iki kağıt kasetine takın. |