> معلومات المنتج > مواصفات المنتج > موقع التثبيت والمساحة

موقع التثبيت والمساحة

لضمان الاستخدام الآمن‏،  ضع الطابعة في الموقع الذي تتوفر فيه الشروط التالية.

  • سطح مستوٍ وثابت يمكنه دعم وزن الطابعة

  • المواقع التي لا تسد الثقوب وفتحات التهوية الموجودة بالطابعة ولا تغطيها

  • المواقع التي يمكنك فيها تحميل الورق وإزالته بسهولة

  • المواقع التي تستوفي الشروط الواردة في "المواصفات البيئية" في هذا الدليل

هام:

لا تضع الطابعة في المواقع التالية؛ وإلا فقد يحدث عطل.

  • عرضة لأشعة الشمس المباشرة

  • عرضة للتغيرات السريعة في درجة الحرارة والرطوبة

  • عرضة للحريق

  • عرضة للمواد المتطايرة

  • عرضة للصدمات أو الاهتزازات

  • بالقرب من التلفزيون أو الراديو

  • بالقرب من الأتربة أو الغبار الزائد

  • بالقرب من المياه

  • بالقرب من أجهزة تكييف الهواء أو التدفئة

  • بالقرب من جهاز ضبط الرطوبة

استخدم حصيرة مضادة للكهرباء الساكنة والمتاحة تجاريًا لمنع التوليد الساكن في المواقع المعرضة لتوليد الكهرباء الساكنة.

قم بتأمين مكان كافٍ لتركيب الطابعة وتشغيلها بشكل صحيح.

الطابعة

الجانب الأمامي

A

1588 ملم

B

518 ملم

الجانب العلوي

A

1065 ملم

B

1238 ملم

C

70 ملم

D

435 ملم

E

210 ملم

F

441 ملم

مع وحدة إنهاء التدبيس

الجانب الأمامي

A

1588 ملم

B

518 ملم

الجانب العلوي

A

2076 ملم

B

1260 ملم

C

110 ملم

D

210 ملم

E

456 ملم

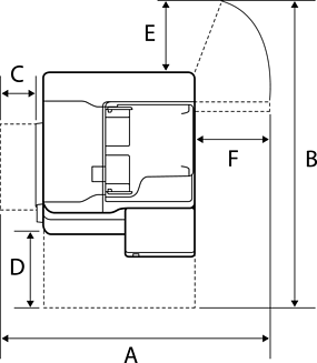
مع وحدة الإنهاء الداخلية

الجانب الأمامي

A

1588 ملم

B

518 ملم

الجانب العلوي

A

1665 ملم

B

1260 ملم

C

117 ملم

D

210 ملم

E

456 ملم