Месца ўсталёўкі

У мэтах бяспечнага выкарыстання размяшчайце прынтар у месцы, якое адпавядае наступным патрабаванням.

  • Роўная цвёрдая паверхня, якая можа падтрымліваць вагу прынтара

  • Месцы, якія не блакіруюць і не закрываць паветразаборнікі і адтуліны прынтара

  • Месцы, у якіх можна лёгка загружаць і вымаць паперу

  • Месцы, якія задавальняюць умовам «Характарыстык навакольнага асяроддзя» ў дадзеным кіраўніцтве

Важнае:

Не размяшчайце прынтар у наступных месцах, інакш можа адбыцца збой.

  • Пад прамымі сонечнымі прамянямі

  • Месцы, дзе часта змяняецца тэмпература і вільготнасць

  • Побач з агнём

  • Побач з лятучымі рэчывамі

  • Пад уздзеяннем удараў і вібрацыі

  • Побач з тэлевізарам або радыё

  • Побач з празмернай колькасцю бруду або пылу

  • Побач з вадой

  • Побач з кандыцыянерам або награвальным абсталяваннем

  • Побач з увільгатняльнікам

Выкарыстоўвайце антыстатычны дыванок, які прадаецца асобна, для прадухілення ўзнікнення электрастатычных зарадаў у месцах, схільных да ўзнікнення статычнай электрычнасці.

Забяспечце дастатковае месца для ўсталёўкі і правільнай працы прынтара.

Прынтар

Пярэдні бок

A

1588 мм

B

518 мм

Верх

A

1065 мм

B

1238 мм

C

70 мм

D

435 мм

E

210 мм

F

441 мм

З прашывачным фінішарам

Пярэдні бок

A

1588 мм

B

518 мм

Верх

A

2076 мм

B

1260 мм

C

110 мм

D

210 мм

E

456 мм

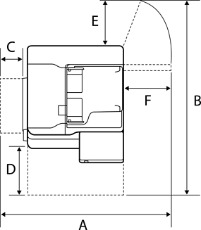
З унутраным фінішарам

Пярэдні бок

A

1588 мм

B

518 мм

Верх

A

1665 мм

B

1260 мм

C

117 мм

D

210 мм

E

456 мм