
|
|
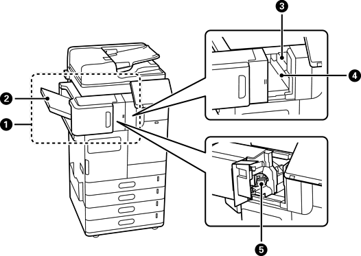
укладчык з функцыяй сашчаплення стэплерам-P1 (Staple Finisher-P1) |
Сартуе і сашчапляе паперу, перш чым выняць яе. Прабівае адтуліны, выкарыстоўваючы дадатковы дзіркакол. Сшывае і складае паперу з дапамогай дадатковай прылады для брашуроўкі наапашкі. |
|
|
Латок для буклетаў |
Прымае складзеныя або прашытыя дакументы. |
|
|
Латок фінішара |
Трымае адсартаваныя або сашчэпленыя дакументы. |
|
|
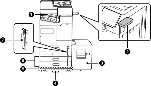
Выходны латок |
Прымае вынятую паперу. Гэты латок можна выкарыстоўваць толькі для прыёму атрыманых факсаў. |
|
|
Панэль для сшывання ўручную |
Выкарыстоўвайце пры сшыванні ўручную. |
|
|
Верхні выходны латок |
Прымае вынятую паперу. Гэты латок немагчыма прызначыць для прыёму раздруковак. Папера аўтаматычна выводзіцца сюды пры пэўных умовах. |
|
|
Скрынка для адходаў |
Збірае кавалкі паперы пасля перфарацыі. |
|
|
Картрыдж з сашчэпкамі |
Для плоскай прашыўкі. |
|
|
Картрыдж з сашчэпкамі |
Для брашуроўкі наапашкі. |

|
|
унутраны ўкладчык-P1 (Inner finisher-P1) |
Сартуе і сашчапляе паперу, перш чым выняць яе. Прабівае адтуліны, выкарыстоўваючы дадатковы дзіркакол. |
|
|
Латок фінішара |
Трымае адсартаваныя або сашчэпленыя дакументы. |
|
|
Дзіркакол |
Прабівае адтуліны для пераплёту. |
|
|
Латок з адходамі перфарацыі |
Збірае кавалкі паперы пасля перфарацыі. |
|
|
Картрыдж з сашчэпкамі |
Для плоскай прашыўкі. |

|
|
Порт LAN |
Можна выкарыстоўваць дзве правадныя лініі LAN, усталяваўшы дадатковую плату Ethernet. |
|
|
Порт EXT. |
Служыць для падключэння знешніх тэлефонных апаратаў. |
|
|
Порт LINE 1 |
Можна дадаць да 3 ліній. Можна выкарыстоўваць яго як факс або сеткавы факс для адпраўкі дакументаў з камп’ютара і атрымання іх на камп’ютар. У дадатак вы зможаце падключацца да некалькіх тэлефонных ліній, дадаўшы факс-плату. Гэта дазваляе вам адпраўляць паведамленні ў некалькі месцаў прызначэння за кароткі час або выдзяляць адну лінію для прыёму факсаў, што скарачае час, калі вы не можаце прымаць выклікі. * *: Знешнія тэлефоны недаступны. |
|
|
Порт LINE 2 |
|
|
|
Порт LINE 3 |

|
|
Унутраны латок-P1 (Inner Tray-P1) |
Гэты латок можна выкарыстоўваць толькі для прыёму атрыманых факсаў. |
|
|
Табліца прылады праверкі сапраўднасці-P1 (Authentication Device Table-P1) або Табліца прылады праверкі сапраўднасці-P2 (Authentication Device Table-P2) |
Дазваляе падключыць прыладу праверкі сапраўднасці, якую падтрымлівае прынтар. Гэта дае магчымасць уваходзіць у прынтар, правёўшы карту праверкі сапраўднасці над прынтарам. |
|
|
Латок высокай ёмістасці-P1 (High Capacity Tray-P1) |
Дазваляе загружаць вялікую колькасць паперы. |
|
|
Стабілізатар-P1 (Stabiliser-P1) |
Падтрымлівае прынтар і прадухіляе яго перакульванне. Звычайна стабілізатары прымацоўваюцца ў чатырох кропках. Калі ўсталяваны дадатковы прашывачны фінішар або латок вялікай ёмістасці, стабілізатары нельга прымацоўваць з таго боку, дзе ўсталяваны дадатковы элемент. Дадатковыя элементы могуць быць недаступнымі ў вашай краіне або рэгіёне. |
|
|
Ролікавы стол-P1 (Caster Table-P1) |
Дазваляе лёгка перамяшчаць прынтар. |
|
|
Дадатковая падвойная касета-P1 (Optional Dual Cassette-P1) |
Дадае да прынтара касеты для паперы фармату C3 і C4. |
|
|
Блакіроўка касеты для паперы-P1 (Paper Cassette Lock-P1) |
Калі адміністратар хоча кіраваць выкарыстаннем паперы, далучыце замок да гэтых дзвюх касет для паперы, каб заблакіраваць іх. |