> Produktinformation > Produktspecifikationer > Installationssted og plads

Installationssted og plads

For at brugen kan være sikker, skal du placere printeren på et sted, der opfylder følgende betingelser.

  • En flad, stabil overflade, der kan understøtte printerens vægt

  • Placeringer, som ikke blokerer eller tildækker ventilationshullerne og åbningerne i printeren

  • Placeringer, hvor du nemt kan ilægge og fjerne papir

  • Placeringer, der opfylder betingelserne i "Miljømæssige specifikationer" i denne vejledning

Vigtigt:

Placer ikke printeren på følgende steder, da der ellers kan opstå en fejl.

  • Hvor den udsættes for direkte sollys

  • Hvor den udsættes for hurtige temperatur- eller fugtighedsændringer

  • Hvor den udsættes for ild

  • Hvor den udsættes for flygtige stoffer

  • Hvor den udsættes for stød eller vibrationer

  • I nærheden af et fjernsyn eller en radio

  • I nærheden af meget snavs eller støv

  • I nærheden af vand

  • I nærheden af klimaanlæg eller varmeudstyr

  • I nærheden af en luftfugter

Brug en kommercielt tilgængelig antistatisk måtte til at forhindre statisk produktion på steder, der er tilbøjelige til at generere statisk elektricitet.

Sørg for, at der er nok plads til at installere og betjene printeren korrekt.

Printer

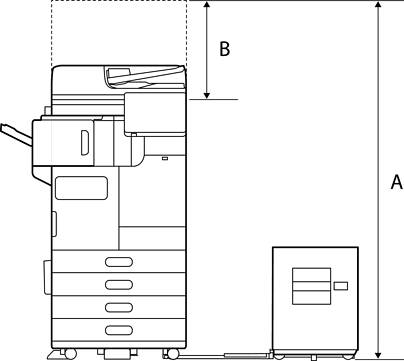
Forside

A

1588 mm

B

518 mm

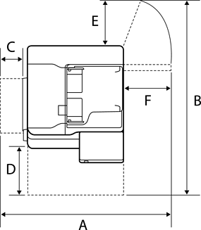
Foroven

A

1065 mm

B

1238 mm

C

70 mm

D

435 mm

E

210 mm

F

441 mm

Med efterbehandler til hæftning

Forside

A

1588 mm

B

518 mm

Foroven

A

2076 mm

B

1260 mm

C

110 mm

D

210 mm

E

456 mm

Med indre efterbehandler

Forside

A

1588 mm

B

518 mm

Foroven

A

1665 mm

B

1260 mm

C

117 mm

D

210 mm

E

456 mm