Luogo di installazione

Per garantire un utilizzo sicuro, collocare la stampante in un luogo che soddisfi le seguenti condizioni.

  • Superficie piatta e stabile in grado di sostenere il peso della stampante

  • Luogo in cui le bocchette di ventilazione e le aperture della stampante non vengono bloccate né ostruite

  • Luogo in cui è possibile caricare e rimuovere facilmente la carta

  • Luoghi che soddisfano le condizioni nelle “Specifiche ambientali” in questo manuale

Importante:

Non posizionare la stampante nei seguenti luoghi; in caso contrario potrebbe verificarsi un malfunzionamento.

  • Luoghi soggetti alla luce solare diretta

  • Luoghi soggetti a brusche variazioni di temperatura e di umidità

  • Luoghi soggetti a fuoco

  • Luoghi in cui sono presenti sostanze volatili

  • Luoghi soggetti a urti o vibrazioni

  • Vicino a un televisore o una radio

  • Vicino a polvere o sporco eccessivo

  • Vicino all’acqua

  • Vicino a impianti di condizionamento d’aria o riscaldamento

  • Vicino a un umidificatore

Utilizzare un tappetino antistatico disponibile in commercio per evitare la generazione di elettricità statica in luoghi soggetti a generazione di elettricità statica.

Assicurarsi che ci sia lo spazio sufficiente per installare e utilizzare correttamente la stampante.

Stampante

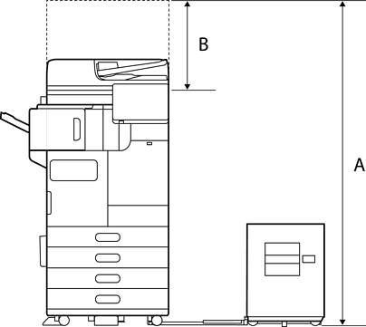
Parte anteriore

A

1588 mm

B

518 mm

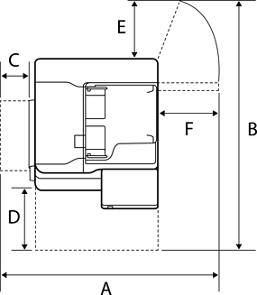
Parte superiore

A

1065 mm

B

1238 mm

C

70 mm

D

435 mm

E

210 mm

F

441 mm

Con il finisher per pinzatura

Parte anteriore

A

1588 mm

B

518 mm

Parte superiore

A

2076 mm

B

1260 mm

C

110 mm

D

210 mm

E

456 mm

Con finisher interno

Parte anteriore

A

1588 mm

B

518 mm

Parte superiore

A

1665 mm

B

1260 mm

C

117 mm

D

210 mm

E

456 mm