
|
|
ステープルフィニッシャー・P1 |
印刷物のソートやステープルをして排紙します。 オプションのパンチユニットを装着すると、パンチ穴も開けられます。オプションの中綴じユニットを装着すると、中とじや折りもできます。 |
|
|
フィニッシャー製本トレイ |
折りや中とじされた印刷物を保持します。 |
|
|
フィニッシャー下トレイ |
ソートやステープルされた印刷物を保持します。 |
|
|
フィニッシャー上トレイ |
印刷された用紙を保持します。受信ファクスの排紙先としてのみ指定できます。 |
|
|
マニュアルステープルの操作部 |
手動でステープルするときに操作します。 |
|
|
フィニッシャー天面トレイ |
排紙された用紙を保持します。排紙先に指定することはできません。条件によって自動で排紙されます。 |
|
|
パンチくずボックス |
パンチくずを受けます。 |
|
|
ステープルカートリッジ |
平とじ用です。 |
|
|
ステープルカートリッジ |
中とじ用です。 |

|
|
インナーフィニッシャー-P1 |
印刷物のソートやステープルをして排紙します。 オプションのパンチユニットを装着すると、パンチ穴も開けられます。 |
|
|
フィニッシャートレイ |
ソートやステープルされた印刷物を保持します。 |
|
|
パンチユニット |
印刷物にパンチ穴を開けます。 |
|
|
パンチくずトレイ |
パンチくずを受けます。 |
|
|
ステープルカートリッジ |
平とじ用です。 |

|
|
LANポート |
オプションの増設ネットワークインターフェイスボードの装着により、有線LANを2回線使用できます。 |
|
|
EXT.ポート |
外付け電話機を接続します。 |
|
|
LINE1ポート |
オプションの増設G3ファクスボードの装着により、電話回線を最大3回線使用できます。ファクスとして使用したり、パソコンで原稿を送受信できるネットワークファクスとして使用することができます。また、複数の電話回線に接続できるため、多くの相手先に短時間で送信したり、1回線を受信専用にして、着信できない時間を減らしたりできます。 * * :外付け電話機は不可 |
|
|
LINE2ポート |
|
|
|
LINE3ポート |

|
|
インナートレイ・P1 |
排紙された印刷物を保持します。受信ファクスの排紙先としてのみ指定できます。 |
|
|
認証デバイス台・P1または認証デバイス台・P2 |
認証装置をセットしておきます。使用するときは認証カードをかざすとログオンできます。 |
|
|
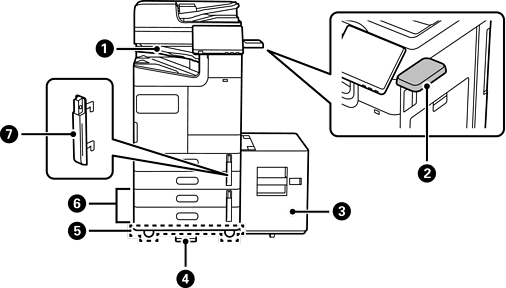
大容量給紙ユニット・P1 |
大量の用紙をセットできます。 |
|
|
Stabiliser-P1 |
プリンター本体が転倒しないように支えます。 通常は4カ所に取り付けます。オプションのステープルフィニッシャーや大容量給紙ユニットを装着した場合は、オプション側には取り付けられません。 地域によっては販売されません。 |
|
|
キャスターテーブル・P1 |
キャスター付きで移動も簡単です。 |
|
|
増設2段カセットユニット・P1 |
用紙カセット(C3、C4)を増設できます。 |
|
|
カセットロック・P1 |
用紙を管理したいときに、2段の用紙カセットに取り付けて南京錠でロックします。 |