
|
|
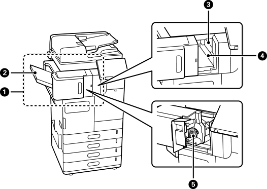
dispozitiv de finisare și capsare-P1 (Staple Finisher-P1) |
Sortează și capsează hârtia înainte de o evacua. Efectuează găuri utilizând unitatea opțională de perforare. Realizează capsarea pe mijloc și pliază hârtia utilizând unitatea opțională de capsare pe mijloc. |
|
|
Tavă pentru broşură |
Se utilizează pentru documente pliate sau legate tip broşură. |
|
|
Tavă unitate de finisare |
Conține documente sortate sau capsate. |
|
|
Tavă de ieșire |
Ține hârtia evacuată. Puteţi specifica această tavă doar ca destinaţie de ieşire pentru faxuri primite. |
|
|
Panou de operare pentru capse aplicate manual |
Utilizaţi-l când capsaţi manual. |
|
|
Tava de ieşire superioară |
Ține hârtia evacuată. Nu puteţi specifica această tavă ca destinaţie de ieşire. Hârtia este evacuată automat aici în funcţie de anumite condiţii. |
|
|
Cutie pentru reziduurile de perforare |
Colectează resturile de hârtie rezultate în urma perforării. |
|
|
Cartuș de capse |
Pentru broșare orizontală. |
|
|
Cartuș de capse |
Pentru capsare pe mijloc. |

|
|
dispozitiv de finisare interior-P1 (Inner finisher-P1) |
Sortează și capsează hârtia înainte de o evacua. Efectuează găuri utilizând unitatea opțională de perforare. |
|
|
Tavă unitate de finisare |
Conține documente sortate sau capsate. |
|
|
Unitate de perforare orificiu |
Perforează orificii pentru legare. |
|
|
Tavă pentru resturi rezultate în urma perforării |
Colectează resturile de hârtie rezultate în urma perforării. |
|
|
Cartuș de capse |
Pentru broșare orizontală. |

|
|
Port LAN |
Puteţi utiliza două linii LAN cu fir, instalând placa Ethernet opţională. |
|
|
Port EXT. |
Permite conectarea telefoanelor externe. |
|
|
Port LINE1 |
Puteţi adăuga până la 3 linii. Îl puteți folosi ca fax, sau îl puteți folosi ca fax de rețea pentru a trimite și primi documente pe computerul dumneavoastră. În plus, vă puteți conecta la mai multe linii telefonice prin adăugarea unui avizier de fax. Acest lucru vă permite să efectuaţi trimiteri către mai multe destinaţii într-o perioadă scurtă de timp sau puteţi dedica o linie telefonică pentru primirea faxurilor, reducând astfel timpul în care nu puteţi primi apeluri. * *: Nu sunt disponibile telefoane externe. |
|
|
Port LINE2 |
|
|
|
Port LINE3 |

|
|
Tavă interioară-P1 (Inner Tray-P1) |
Puteţi specifica această tavă doar ca destinaţie de ieşire pentru faxuri primite. |
|
|
Tabel dispozitiv de autentificare-P1 (Authentication Device Table-P1) sau Tabel dispozitiv de autentificare-P2 (Authentication Device Table-P2) |
Vă permite să atașați un dispozitiv de autentificare acceptat de imprimantă. Apoi vă puteţi conecta la imprimantă ţinând cardul de autentificare deasupra imprimantei. |
|
|
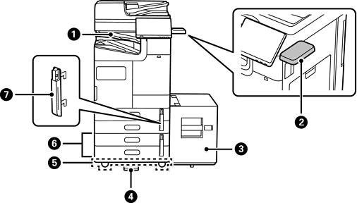
Tavă de mare capacitate-P1 (High Capacity Tray-P1) |
Vă permite să încărcaţi o cantitate mare de hârtie. |
|
|
Stabilizator-P1 (Stabiliser-P1) |
Susţine imprimanta pentru a preveni răsturnarea acesteia. Stabilizatoarele trebuie să fie ataşate în mod normal în patru puncte. Dacă dispozitivul de finisare şi capsare sau tava de mare capacitate opţională este instalată, stabilizatoarele nu pot fi ataşate pe partea pe care este instalat elementul opţional. Este posibil ca acestea să nu fie disponibile în ţara sau regiunea dumneavoastră. |
|
|
Masă cu role-P1 (Caster Table-P1) |
Vă permite să mutaţi mai uşor imprimanta. |
|
|
Casetă opțională dublă-P1 (Optional Dual Cassette-P1) |
Adaugă casetele de hârtie C3 şi C4 la imprimantă. |
|
|
Blocare pentru caseta de hârtie-P1 (Paper Cassette Lock-P1) |
Când administratorul doreşte să gestioneze utilizarea hârtiei, ataşaţi elementul la două casete de hârtie cu un lacăt pentru blocarea casetelor. |