> Informacije o proizvodu > Specifikacije proizvoda > Mesto i prostor za postavljanje

Mesto i prostor za postavljanje

Da biste osigurali bezbednu upotrebu, postavite štampač na mesto koje ispunjava sledeće uslove.

  • Ravna, stabilna površina koja može da podnese težinu štampača

  • Mesta koja ne zatvaraju niti pokrivaju ventilacione i ostale otvore na štampaču

  • Mesta na kojima možete jednostavno ubacivati i vaditi papir

  • Mesta koja ispunjavaju uslove navedene u odeljku „Specifikacije u vezi sa okruženjem“ u ovom priručniku

Važno:

Nemojte postavljati štampač na sledeća mesta; u protivnom može doći do nepravilnog rada.

  • Na mestu izloženom direktnoj sunčevoj svetlosti

  • Na mestu izloženom naglim promenama temperature i vlažnosti vazduha

  • Na mestu na kom postoji opasnost od požara

  • Na mestu na kom su prisutne isparljive supstance

  • Na mestu na kom postoji mogućnost potresa ili vibracija

  • Blizu televizora ili radija

  • Blizu mesta s velikom količinom prljavštine ili prašine

  • Blizu vode

  • Blizu klima-uređaja ili opreme za grejanje

  • Blizu ovlaživača vazduha

Koristite komercijalnu antistatičku podlogu kako biste sprečili stvaranje statičkog elektriciteta na mestima koja su sklona stvaranju elektrostatičkog elektriciteta.

Obezbedite dovoljno prostora za pravilno postavljanje i korišćenje štampača.

Štampač

Napred

A

1588 mm

B

518 mm

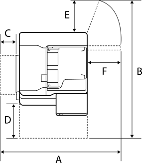
Vrh

A

1065 mm

B

1238 mm

C

70 mm

D

435 mm

E

210 mm

F

441 mm

Sa uređajem za završnu obradu spajanjem

Napred

A

1588 mm

B

518 mm

Vrh

A

2076 mm

B

1260 mm

C

110 mm

D

210 mm

E

456 mm

Sa unutrašnjim uređajem za završnu obradu

Napred

A

1588 mm

B

518 mm

Vrh

A

1665 mm

B

1260 mm

C

117 mm

D

210 mm

E

456 mm