> Maelezo ya Bidhaa > Ufafanuzi wa Bidhaa > Usakinishaji wa Eneo na Nafasi

Usakinishaji wa Eneo na Nafasi

Ili kuhakikisha matumizi salama, weka kichapishi katika eneo linalotimiza madsharti yafuatayo.

  • Eneo bata, na thabiti linaloweza kuauni uzani wa kichapishi

  • Maeneo ambayo hayazuii au kufunika matundu na mipenyo katika kichapishi

  • Maeneo ambayo unaweza kupakia karatasi na kuondoa karatasi rahisi

  • Maeneo yanayokidhi masharti katika “Vipimo vya Kimazingira” kwenye mwongozo huu

Muhimu:

Usiweke kichapishi katika maeneo yafuatayo; vinginevyo hitilafu inaweza kutokea.

  • Eneo linalofikiwa na jua moja kwa moja

  • Eneo lilio na mabadiliko ya halijoto na unyevu mara kwa mara

  • Eneo lenye moto

  • Eneo lenye vitu dete

  • Eneo lenye umeme au mtetemo

  • Karibu na televisheni au redio

  • Karibu na uchafu au vumbi jingi

  • Karibu na maji

  • Karibu na vifaa vya kupasha hewa au joto

  • Karibu na kifaa cha unyevu

Tumia zulia la kupambana na utulivu linalopatikana la kibiashara ili kuzuia kizazi tulizu katika maeneo yaliyo na uwezekano wa kuzalisha umeme wa tuli.

Tenga nafasi ya kutosha ya kusakinisha na kuendesha kichapishi sahihi.

Kichapishi

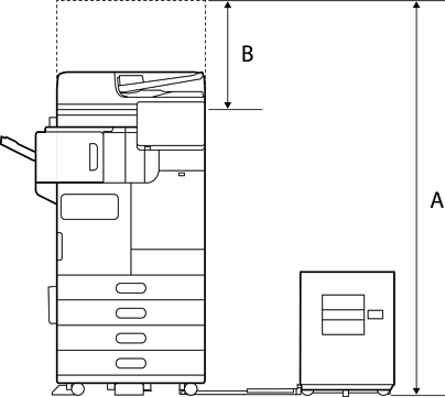
Mbele

A

1588 mm

B

518 mm

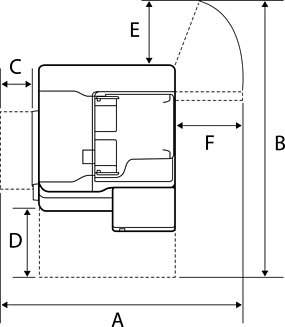
Juu

A

1065 mm

B

1238 mm

C

70 mm

D

435 mm

E

210 mm

F

441 mm

Kwa Kihitimishi cha Stepla

Mbele

A

1588 mm

B

518 mm

Juu

A

2076 mm

B

1260 mm

C

110 mm

D

210 mm

E

456 mm

Pamoja na Kikamilishi cha ndani

Mbele

A

1588 mm

B

518 mm

Juu

A

1665 mm

B

1260 mm

C

117 mm

D

210 mm

E

456 mm