
|
|
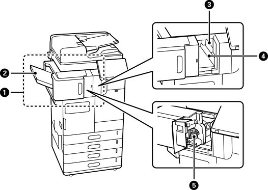
stepler finişeri-P1 (Staple Finisher-P1) |
Kagyzy çykarmazdan öň sortlaýar we stepler edýär. Islege bagly deşik deşiji blok arkaly deşikler deşýär. Ortadan çatgyç islege bagly ýasgynjak çatyş blogy arkaly kagyzy çatýar we epleýär. |
|
|
Kitapça lotogy |
Eplenen ýa-da ortadan çatylan resminamalary saklaýar. |
|
|
Gutarnykly lotok |
Sortlanan ýa-da steplerlenen resminamalary saklaýar. |
|
|
Çykyş lotogy |
Çykýan kagyzy saklaýar. Bu lotogy diňe alnan fakslar üçin çykyş barylmaly ýeri hökmünde görkezip bilersiňiz. |
|
|
Elden stepler üçin amal paneli |
Muny elden stepler edýän wagtyňyz ulanyň. |
|
|
Ýokarky çykyş lotogy |
Çykýan kagyzy saklaýar. Bu lotogy çykyş barylmaly ýeri hökmünde görkezip bilmersiňiz. Belli bir şertlere baglylykda kagyz şu ýere awtomatik çykarylýar. |
|
|
Deşgijiň zibil gutusy |
Deşmek zyňyndylaryny ýygnaýar. |
|
|
Stepler kartriji |
Tekiz çatmak üçin. |
|
|
Stepler kartriji |
Ortadan çatmak üçin. |

|
|
içerki finişer-P1 (Inner finisher-P1) |
Kagyzy çykarmazdan öň sortlaýar we stepler edýär. Islege bagly deşik deşiji blok arkaly deşikler deşýär. |
|
|
Gutarnykly lotok |
Sortlanan ýa-da steplerlenen resminamalary saklaýar. |
|
|
Deşiji blok |
Çatmak üçin deşikler deşýär. |
|
|
Deşmek zibil lotogy |
Deşmek zyňyndylaryny ýygnaýar. |
|
|
Stepler kartriji |
Tekiz çatmak üçin. |

|
|
LAN porty |
Islege bagly Ethernet panelini gurnamak arkaly, iki simli LAN liniýasyny ulanyp bilersiňiz. |
|
|
EXT. porty |
Daşarky telefon enjamlaryny birikdirýär. |
|
|
LINE1 porty |
3 liniýa çenli goşup bilersiňiz. Ony faks hökmünde ýa-da kompýuteriňizde resminama ibermek we almak üçin, tor faksy hökmünde ulanyp bilersiňiz. Üstesine, faks platasyny goşmak arkaly, köp telefon liniýasyna birigip bilersiňiz. Ol gysga wagtda birnäçe barylmaly ýere ibermäge mümkinçilik berýär ýa-da bir liniýany faks almaga belläp bilersiňiz, şeýlelikde jaň alyp bilmeýän wagtyňyzy azaldyp bilersiňiz. * *: Daşarky telefonlar elýeterli däl. |
|
|
LINE2 porty |
|
|
|
LINE3 porty |

|
|
Içerki lotok-P1 (Inner Tray-P1) |
Bu lotogy diňe alnan fakslar üçin çykyş barylmaly ýeri hökmünde görkezip bilersiňiz. |
|
|
Barlag enjamy tablisasy-P1 (Authentication Device Table-P1) ýa-da Barlag enjamy tablisasy-P2 (Authentication Device Table-P2) |
Printer tarapyndan goldanylýan hakykylyk-barlag enjamyny dakmagyňyza mümkinçilik berýär. Soňra hakykylyk-barlag kartyny printeriň üstünde saklamak arkaly printere ulgama girip bilersiňiz. |
|
|
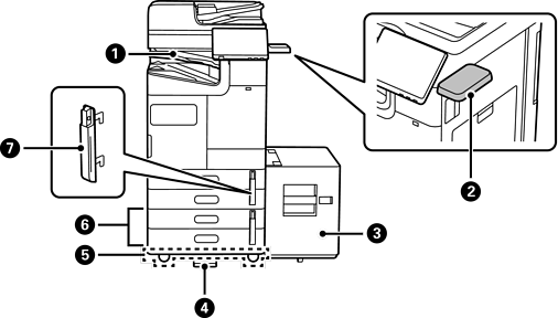
Ýokary sygymly lotok-P1 (High Capacity Tray-P1) |
Köp möçberde kagyz goýmagyňyza mümkinçilik berýär. |
|
|
Stabilizator-P1 (Stabiliser-P1) |
Printer agdarylmaz ýaly, oňa söýget berýär. Stabilizatorlary adatça dört nokada dakyp bolýar. Eger islege bagly stepler finişeri ýa-da ýokary sygymly lotok gurnalsa, stabilizatorlary islege bagly zadyň gurnalgy ýeriniň gapdalyna dakyp bolmaýar. Olar ýurduňyza ýa-da sebitiňize baglylykda elýeterli bolman biler. |
|
|
Rolik tablisasy-P1 (Caster Table-P1) |
Printeri ýeňil geçirmegiňize mümkinçilik berýär. |
|
|
Islege bagly ikilik kasseta-P1 (Optional Dual Cassette-P1) |
C3 we C4 kagyz kassetalaryny printere goşýar. |
|
|
Kagyz kassetasy gulpy-P1 (Paper Cassette Lock-P1) |
Administrator kagyzyň ulanylyşyny dolandyrmak islände, kassetalary gulplamak üçin, muny iki kagyz kassetasyna kilt bilen dakyň. |