
|
|
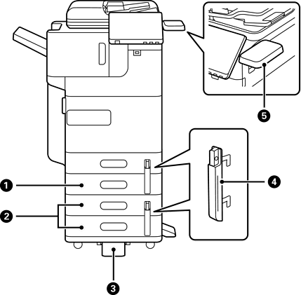
Kağız kaseti qurğusu (Tək)-P1 (Paper Cassette Unit (Single)-P1) |
Kağız kasetini C2 printerə əlavə edir. |
|
|
Kağız kaseti qurğusu (Cüt)-P2 (Paper Cassette Unit (Dual)-P2) |
C3 və C4 kağız kasetlərini printerə əlavə edir. |
|
|
Stabilizator-P1 (Stabiliser-P1) |
Çarpmanın qarşısını almaq üçün printeri dəstəkləyir. Ölkənizdən və ya regionunuzdan asılı olaraq bunlar mövcud olmaya bilər. |
|
|
Kağız kasetinin kilidi-P1 (Paper Cassette Lock-P1) |
Administrator kağız istifadəsini idarə etmək istədikdə kasetləri kilidləmək üçün bunu iki kağız kasetinə asma kilidlə əlavə edin. |
|
|
Əsilliyi yoxlama cihazının cədvəli-P1 (Authentication Device Table-P1) və ya Əsilliyi yoxlama cihazının cədvəli-P2 (Authentication Device Table-P2) |
Printer tərəfindən əsilliyi yoxlama cihazını əlavə etməyə imkan verir. Daha sonra printerin üzərində identifikasiya kartını tutaraq printerə daxil ola bilərsiniz. |