
|
|
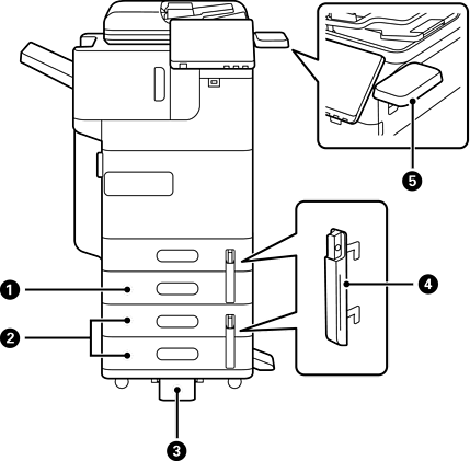
Unitat de calaix de paper (única) - P1 (Paper Cassette Unit (Single)-P1) |
Afegeix el calaix de paper C2 a la impressora. |
|
|
Unitat de calaix de paper (dual) - P2 (Paper Cassette Unit (Dual)-P2) |
Afegeix calaixos de paper C3 i C4 a la impressora. |
|
|
Estabilitzador-P1 (Stabiliser-P1) |
Sosté la impressora per evitar que es bolqui. Pot ser que aquestes opcions no estiguin disponibles segons el vostre país o regió. |
|
|
Bloqueig del calaix de paper-P1 (Paper Cassette Lock-P1) |
Quan l'administrador vol controlar l'ús de paper, es fixa a dos calaixos de paper amb un cadenat per bloquejar-los. |
|
|
Taula del dispositiu d'autenticació-P1 (Authentication Device Table-P1) o Taula del dispositiu d'autenticació-P2 (Authentication Device Table-P2) |
Permet connectar un dispositiu d'autenticació compatible amb la impressora. D'aquesta manera podeu iniciar sessió a la impressora passant una targeta d'autenticació sobre la impressora. |