
|
|
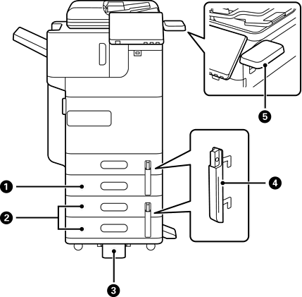
Jednotka kazety na papír (jednoduchá)-P1 (Paper Cassette Unit (Single)-P1) |
Přidá do tiskárny kazetu na papír C2. |
|
|
Jednotka kazety na papír (dvojitá)-P2 (Paper Cassette Unit (Dual)-P2) |
Přidá do tiskárny kazety na papír C3 a C4. |
|
|
Stabilizátor-P1 (Stabiliser-P1) |
Podpírá tiskárnu, aby se nepřevrátila. V závislosti na vaší zemi nebo regionu nemusí být k dispozici. |
|
|
Zámek kazety na papír-P1 (Paper Cassette Lock-P1) |
Když chce správce spravovat využití papíru, připojte jej ke dvěma kazetám na papír pomocí visacího zámku, aby se kazety uzamkly. |
|
|
Tabulka ověřování zařízení-P1 (Authentication Device Table-P1) nebo Tabulka ověřování zařízení-P2 (Authentication Device Table-P2) |
Umožňuje připojit ověřovací zařízení podporované tiskárnou. Poté se můžete přihlásit k tiskárně přidržením ověřovací karty nad tiskárnou. |