
|
|
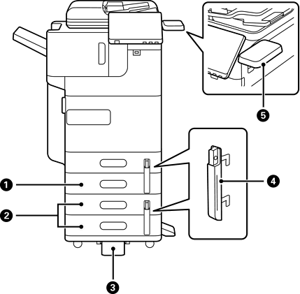
Papirkassetteenhed (Enkel)-P1 (Paper Cassette Unit (Single)-P1) |
Tilføjer papirkassetten C2 til printeren. |
|
|
Papirkassetteenhed (Dobbelt)-P2 (Paper Cassette Unit (Dual)-P2) |
Tilføjer papirkassetter C3 ogC4 til printeren. |
|
|
Stabilisator-P1 (Stabiliser-P1) |
Støtter printeren, så den ikke vælter. Dette er muligvis ikke tilgængeligt, afhængigt af land eller område. |
|
|
Papirkassettelås-P1 (Paper Cassette Lock-P1) |
Hvis administratoren ønsker at styre papirforbruget, skal disse to papirkassetter låses fast med en hængelås. |
|
|
Autentifikationsenhedstabel-P1 (Authentication Device Table-P1) eller Autentifikationsenhedstabel-P2 (Authentication Device Table-P2) |
Giver dig mulighed for at tilslutte en godkendelsesenhed, som printeren kan bruges med. Du kan derefter logge på printeren ved at holde et godkendelseskort over printeren. |