
|
|
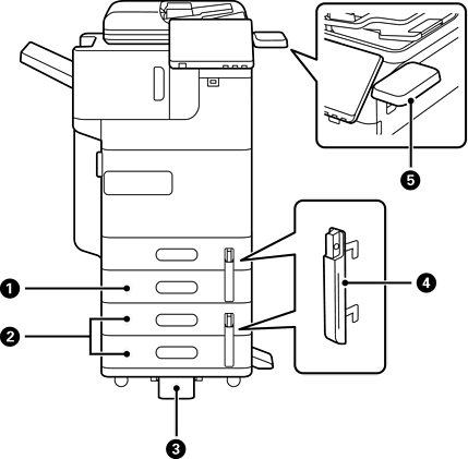
Μονάδα κασέτας χαρτιού (Μονή)-P1 (Paper Cassette Unit (Single)-P1) |
Προσθέτει κασέτα χαρτιού C2 στον εκτυπωτή. |
|
|
Μονάδα κασέτας χαρτιού (Διπλή)-P2 (Paper Cassette Unit (Dual)-P2) |
Προσθέτει τις κασέτες χαρτιού C3 και C4 στον εκτυπωτή. |
|
|
Σταθεροποιητής-P1 (Stabiliser-P1) |
Υποστηρίζει τον εκτυπωτή για να αποτρέψει τυχόν ανατροπή του. Ενδέχεται να μην είναι διαθέσιμα, ανάλογα με την χώρα ή την περιοχή σας. |
|
|
Κλείδωμα κασέτας χαρτιού-P1 (Paper Cassette Lock-P1) |
Εάν ο διαχειριστής θέλει να ελέγξει τη χρήση χαρτιού, προσαρτήστε αυτό σε δύο κασέτες χαρτιού με λουκέτο για να κλειδώσετε τις κασέτες. |
|
|
Πίνακας συσκευών ελέγχου ταυτότητας-P1 (Authentication Device Table-P1) ή Πίνακας συσκευών ελέγχου ταυτότητας-P2 (Authentication Device Table-P2) |
Σας επιτρέπει να προσαρτήσετε μια συσκευή ελέγχου ταυτότητας που υποστηρίζεται από τον εκτυπωτή. Στη συνέχεια, μπορείτε να συνδεθείτε στον εκτυπωτή κρατώντας μια κάρτα ελέγχου ταυτότητας πάνω από τον εκτυπωτή. |