
|
|
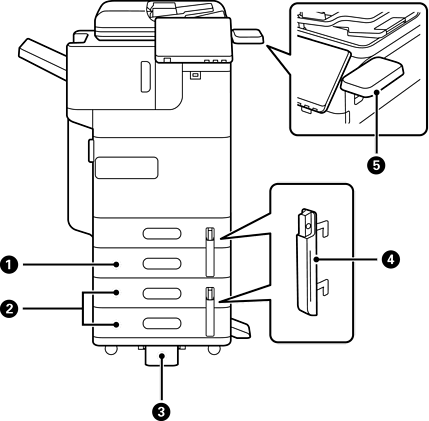
Paperikasettiyksikkö (yksittäinen)-P1 (Paper Cassette Unit (Single)-P1) |
Lisää paperikasetin C2 tulostimeen. |
|
|
Paperikasettiyksikkö (kaksoiskasetti)-P2 (Paper Cassette Unit (Dual)-P2) |
Lisää tulostimeen paperikasetit C3 jaC4 . |
|
|
Vakaaja-P1 (Stabiliser-P1) |
Tukee tulostinta estäen sitä kaatumasta. Näitä ei ehkä ole käytettävissä maassasi tai alueellasi. |
|
|
Paperikasetin lukitus-P1 (Paper Cassette Lock-P1) |
Kun järjestelmänvalvoja haluaa hallita paperinkäyttöä, kiinnitä tämä kahteen paperikasettiin, joissa on lukko kasettien lukitsemista varten. |
|
|
Tarkistuslaitepöytä-P1 (Authentication Device Table-P1) tai Tarkistuslaitepöytä-P2 (Authentication Device Table-P2) |
Mahdollistaa tulostimen tukeman todennuslaitteen kiinnittämisen. Voit sen jälkeen kirjautua tulostimeen pitämällä todennuskorttia tulostimen päällä. |