
|
|
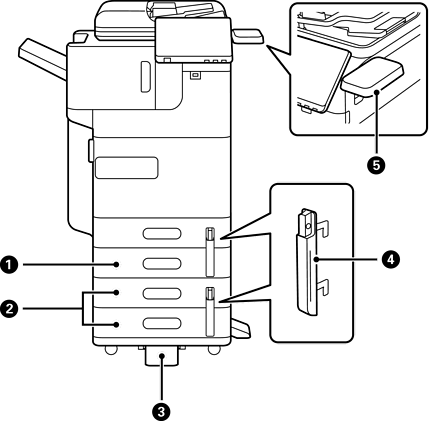
Unité de cassette papier (Unique)-P1 (Paper Cassette Unit (Single)-P1) |
Permet d'ajouter des bacs papier C2 à l'imprimante. |
|
|
Unité de cassette papier (Double)-P2 (Paper Cassette Unit (Dual)-P2) |
Permet d'ajouter des bacs papier C3 et C4 à l'imprimante. |
|
|
Stabilisateur-P1 (Stabiliser-P1) |
Supporte l'imprimante pour l'empêcher de basculer. Ces éléments peuvent ne pas être disponibles selon votre pays ou votre région. |
|
|
Verrou de bac papier-P1 (Paper Cassette Lock-P1) |
Lorsque l'administrateur souhaite gérer l'utilisation du papier, attachez ceci à deux bacs papier avec un cadenas pour verrouiller les bacs. |
|
|
Bureau du dispositif d'authentification-P1 (Authentication Device Table-P1) ou Bureau du dispositif d'authentification-P2 (Authentication Device Table-P2) |
Permet d’attacher un dispositif d’authentification pris en charge par l’imprimante. Vous pouvez alors vous connecter à l’imprimante en tenant une carte d’authentification au-dessus de l’imprimante. |