
|
|
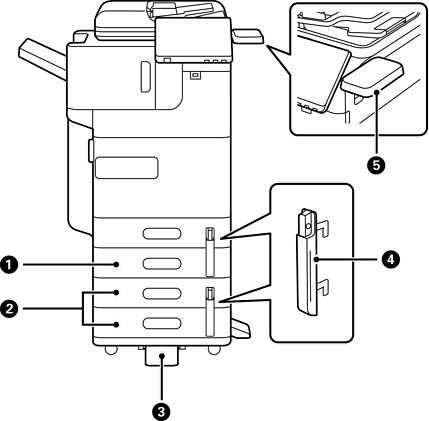
पेपर कैसेट इकाई (सिंगल)-P1 (Paper Cassette Unit (Single)-P1) |
प्रिंटर में पेपर कैसेट C2 लगाता है। |
|
|
पेपर कैसेट इकाई (डुअल)-P2 (Paper Cassette Unit (Dual)-P2) |
प्रिंटर में पेपर कैसेट C3 और C4 लगाता है। |
|
|
स्टेबलाइज़र-P1 (Stabiliser-P1) |
प्रिंटर को सहारा देता है और उसे पलटने से रोकता है। ये आपके देश या क्षेत्र के आधार पर शायद उपलब्ध न हों। |
|
|
पेपर कैसेट लॉक-P1 (Paper Cassette Lock-P1) |
जब व्यवस्थापक कागज़ उपयोग का प्रबंधन करना चाहता है, तो कैसेट को लॉक करने के लिए पैडलॉक के साथ इसे दो पेपर कैसेट में अटैच करें। |
|
|
प्रमाणीकरण डिवाइस तालिका-P1 (Authentication Device Table-P1) या प्रमाणीकरण डिवाइस तालिका-P2 (Authentication Device Table-P2) |
आपको प्रिंटर द्वारा समर्थित प्रमाणीकरण डिवाइस अटैच करने की अनुमति देता है। आप प्रिंटर पर एक प्रमाणीकरण कार्ड रखकर फिर से प्रिंटर पर लॉग ऑन कर सकते हैं। |