
|
|
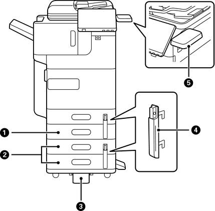
Jedinica kasete papira (jednostruka)-P1 (Paper Cassette Unit (Single)-P1) |
Na pisač dodaje kasetu s papirom C2. |
|
|
Jedinica kasete papira (dvojna)-P2 (Paper Cassette Unit (Dual)-P2) |
Na pisač dodaje kasete s papirom C3 i C4. |
|
|
Stabilizator-P1 (Stabiliser-P1) |
Podržava pisač i sprječava njegovo prevrtanje. To možda neće biti raspoloživo u vašoj državi ili regiji. |
|
|
Brava kasete s papirom-P1 (Paper Cassette Lock-P1) |
Kada administrator želi upravljati korištenjem papira, pričvrstite lokotom na dvije kasete s papirom kako biste zaključali kasete. |
|
|
Stol za autentikacijski uređaj-P1 (Authentication Device Table-P1) ili Stol za autentikacijski uređaj-P2 (Authentication Device Table-P2) |
Omogućava priključivanje autentikacijskog uređaja koji pisač podržava. Nakon toga na pisač se možete prijaviti držeći autentikacijsku karticu iznad pisača. |