
|
|
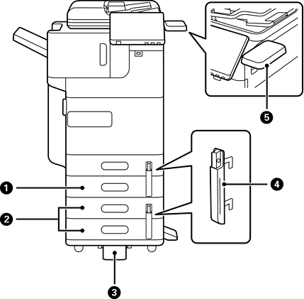
Papírkazetta egység (Egyes)-P1 (Paper Cassette Unit (Single)-P1) |
Hozzáadja a(z) C2 papírkazettát a nyomtatóhoz. |
|
|
Papírkazetta egység (Duál)-P2 (Paper Cassette Unit (Dual)-P2) |
Hozzáadja a(z) C3 és a(z) C4 papírkazettákat a nyomtatóhoz. |
|
|
Stabilizáló-P1 (Stabiliser-P1) |
Kitámasztja a nyomtatót, hogy megakadályozza a felborulását. Előfordulhat, hogy ezek az országtól vagy a régiótól függően nem érhetőek el. |
|
|
Papírkazettazár-P1 (Paper Cassette Lock-P1) |
Ha a rendszergazda kezelni akarja a papírfelhasználást, csatlakoztassa ezt két papírkazettához egy lakat segítségével a kazetták lezárásához. |
|
|
Hitelesítési eszköztábla-P1 (Authentication Device Table-P1) vagy Hitelesítési eszköztábla-P2 (Authentication Device Table-P2) |
Lehetővé teszi egy, a nyomtató által támogatott hitelesítési eszköz csatlakoztatását. Ezután a nyomtatóra bejelentkezhet úgy, hogy a nyomtató fölé egy hitelesítő kártyát tart. |