
|
|
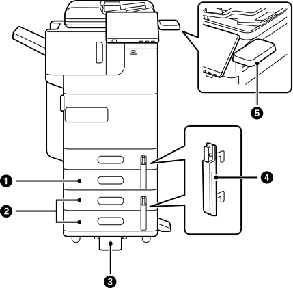
Unit Kaset Kertas (Tunggal)-P1 (Paper Cassette Unit (Single)-P1) |
Menambahkan kaset kertas C2 ke printer. |
|
|
Unit Kaset Kertas (Ganda)-P2 (Paper Cassette Unit (Dual)-P2) |
Menambahkan kaset kertas C3 dan C4 ke printer. |
|
|
Stabilisator-P1 (Stabiliser-P1) |
Mendukung printer agar tidak terbalik. Ini mungkin tidak tersedia bergantung pada negara atau wilayah Anda. |
|
|
Kunci Kaset Kertas-P1 (Paper Cassette Lock-P1) |
Saat administrator ingin mengatur penggunaan kertas, pasang ini ke dua kaset kertas dengan gembok untuk mengunci kaset. |
|
|
Tabel Perangkat Autentikasi-P1 (Authentication Device Table-P1) atau Tabel Perangkat Autentikasi-P2 (Authentication Device Table-P2) |
Memungkinkan Anda memasang perangkat autentikasi yang didukung oleh printer. Anda kemudian dapat masuk ke printer dengan meletakkan kartu autentikasi di atas printer. |