
|
|
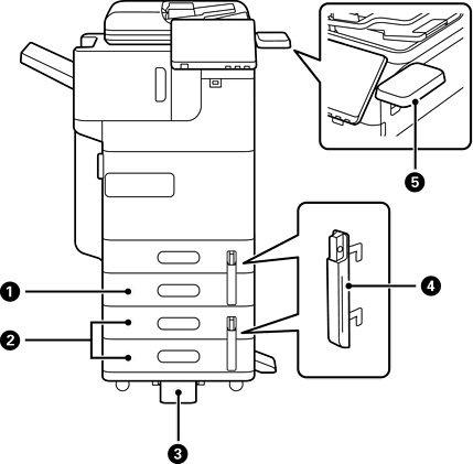
Unità cassetto carta (Singolo)-P1 (Paper Cassette Unit (Single)-P1) |
Aggiunge il cassetto carta C2 alla stampante. |
|
|
Unità cassetto carta (Doppio)-P2 (Paper Cassette Unit (Dual)-P2) |
Aggiunge i cassetti carta C3 e C4 alla stampante. |
|
|
Stabilizzatore-P1 (Stabiliser-P1) |
Sostiene la stampante per evitare che si ribalti. Potrebbero non essere disponibili nel proprio paese o nella propria regione. |
|
|
Blocco del cassetto carta-P1 (Paper Cassette Lock-P1) |
Quando l'amministratore desidera gestire l'uso della carta, collegarlo a due cassetti carta con un lucchetto per bloccare i cassetti. |
|
|
Tabella dispositivo di autenticazione-P1 (Authentication Device Table-P1) o Tabella dispositivo di autenticazione-P2 (Authentication Device Table-P2) |
Consente di collegare un dispositivo di autenticazione supportato dalla stampante. È quindi possibile accedere alla stampante appoggiando una scheda per l’autenticazione sopra la stampante. |