> 各部の名称と働き > オプション

オプション

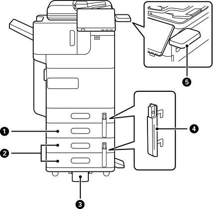
増設カセットユニット(1段)-P1

用紙カセット(C2)を増設できます。

増設カセットユニット(2段)-P2

用紙カセット(C3C4)を増設できます。

Stabiliser-P1

プリンター本体が転倒しないように支えます。

地域によっては販売されません。

カセットロック・P1

用紙を管理したいときに、2段の用紙カセットに取り付けて南京錠でロックします。

認証デバイス台・P1または認証デバイス台・P2

認証装置をセットしておきます。使用するときは認証カードをかざすとログオンできます。